поиск в избранное карта сайта
  Opel РЕМОНТ ОБСЛУЖИВАНИЕ ЭКСПЛУАТАЦИЯ АВТОМОБИЛЕЙ
Опель Астра. Opel Astra H (с 2004 по 2006 год выпуска)

полные технические характеристики. диагностика. электросхемы
 
Главная
 
Opel
Astra H
1. Эксплуатация и техническое обслуживание автомобиля
2. Двигатель
2.1. Новый бензиновый двигатель Z 18 XER DOHC-I
2.1.1. Общие сведения
2.1.2. Регулируемые звездочки распределительного вала
2.1.3. Принцип действия регулируемых звездочек распределительного вала
2.1.4. Зубчато-ременная передача
2.1.5. Поликлиновый ремень
2.1.6. Головка блока цилиндров
2.1.7. Коленчатый вал и поршни
2.1.8. Задний сальник коленчатого вала с датчиком
2.1.9. Впускной коллектор
2.1.10. Контур смазки бензинового двигателя Z 18 XER DOHC-I
2.1.11. Модуль маслоохладителя
2.1.12. Масляный поддон
2.1.13. Модуль термостата бензинового двигателя Z 18 XER DOHC-I
2.1.14. Simtec 75.1 электронный модуль управления бензиновым двигателем Z 18 XER DOHC-I
2.2. Бензиновые двигатели – общие процедуры проверки
2.3. Снятие и установка силового агрегата
2.4. Механическая часть двигателя
2.5. Проверочные и ремонтные операции компонентов механической части двигателя
2.6. Система охлаждения
2.7. Система впрыска топлива бензиновых двигателей
2.8. Система смазки
2.9. Таблицы
3. Трансмиссия
4. Ходовая часть
5. Рулевой механизм
6. Тормозная система
7. Бортовое электрооборудование
8. Кузов
9. Схемы электрооборудования
 


2.1.3. Принцип действия регулируемых звездочек распределительного вала

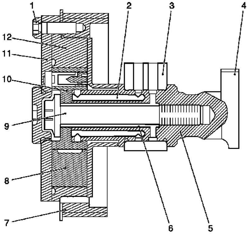
Сечение масляных направляющих регулятора распредвала привода впускных клапанов
Рис. 2.7. Сечение масляных направляющих регулятора распредвала привода впускных клапанов: 1 – болт крепления – крышка регулятора положения распредвала; 2 – маслопровод к камерам «А» регулятора положения распредвала; 3 – блок подшипника распредвала; 4 – кулачки; 5 – распредвал; 6 – маслопровод к камерам «В» регулятора положения распредвала; 7 – шкив зубчатого ремня; 8 – разделение камер «А» и «В»; 9 – болты крепления регулятора положения распредвала; 10 – ротор; 11 – крышка регулятора положения распредвала; 12 – статор


Система регулировки распредвала состоит из гидравлического регулятора, который закреплен на передней части соответствующего распредвала, управляющего клапана, установленного на головке блока цилиндров, масляной направляющей между клапанами распредвала и регуляторами положения распредвала (отверстия в распредвале), а так же электронной цепи управления с обратной связью.

Для правильной регулировки распредвала необходимо осуществлять постоянную подачу масла от контура системы смазки.

Регулятор распредвала привода впускных клапанов
Рис. 2.8. Регулятор распредвала привода впускных клапанов: 1 – разделительный диск (внешний) – регулятор распредвала привода впускных клапанов; 2 – шкив зубчатого ремня; 3 – канал заполнения и слива – камера «А»; 4 – канал заполнения и слива – камера «В»; 5 – резьбовой штифт – крепление крышки регулятора положения распредвала; 6 – ротор жестко связан с распредвалом; 7 – статор может перемещаться гидравлически; 8 – разделение камер «А» и «В»


Моторное масло подается через специальный маслопровод непосредственно от масляного насоса к головке блока цилиндров и к блоку подшипника распредвала. Блок подшипника распредвала содержит электромагнитный клапан для каждого регулируемого распредвала; этот клапан подает масло в маслопроводы соответствующего регулятора положения распредвала для заполнения или слива камеры «A» или «B» регулятора положения распредвала или поддержания текущей установки распредвала.


Регулятор распредвала привода выпускных клапанов
Рис. 2.9. Регулятор распредвала привода выпускных клапанов: 1 – разделительный диск (внутренний) – регулятор распредвала привода впускных клапанов; 2 – канал заполнения и слива – камера «A»; 3 – канал заполнения и слива – камера «B»; 4 – разделение камер «A» и «B»; 5 – ротор жестко связан с распредвалом; 6 – возвратная пружина, перемещает статор в исходное положение при отсутствии давления масла; 7 – резьбовой штифт – крепление крышки регулятора положения распредвала; 8 – статор может перемещаться гидравлически; 9 – шкив зубчатого ремня


Масло к соответствующей камере «B» регулятора положения распредвала подается по фланцу болта крепления. Масло к соответствующей камере «A» регулятора положения распредвала подается по отдельным, смещенным от центра каналам. Высота подъема клапана изменяется при заполнении или сливе масла из камер регулятора положения распредвала впускных или выпускных клапанов.


Электрогидравлический клапан
Рис. 2.10. Электрогидравлический клапан: 1 – корпус с электромагнитом; 2 – подключение через разъем жгута проводов; 3 – сечение клапана с выточкой для подключения кольцевых канавок I и II и осевой канал для подключения кольцевой канавки (III) для слива масла


Клапаны регулировки распредвала используются для заполнения камер «A» и/или «B» регуляторов положения распредвалов, для слива масла или сохранения текущего положения регулятора распредвала впускных и выпускных клапанов.


Структурная схема работы электрогидравлического клапана
Рис. 2.11. Структурная схема работы электрогидравлического клапана


Электрогидравлические клапаны направляют поток моторного масла к соответствующим каналам для заполнения или слива масла из камер «A» или «B». Это действие производится перемещением клапана в одно из трех положений. Клапанами управляет модуль управления двигателем.

Кольцевая канавка II связана с кольцевой канавкой I, что позволяет переключать напорный маслопровод к камере «A» или камере «B».
Кольцевая канавка III служит только для слива масла IV из камеры «B».

Схема подключения питающей линии к масляной направляющей камеры «А» регулятора положения распредвала
Рис. . Схема подключения питающей линии к масляной направляющей камеры «А» регулятора положения распредвала: 1 – электромагнит гидравлического клапана; 2 – камера «A»; 3 – камера «B»; 4 – ротор; 5 – статор


Питающая линия II постоянно связана с источником масла под давлением. На рисунке 2.12 показано положение клапана, при котором питающая линия подключена к масляной направляющей камеры «А» регулятора положения распредвала. Камера «B» регулятора положения распредвала одновременно опорожняется через канал слива III и IV.

Схема подключения питающей линии к масляной направляющей камеры «В» регулятора положения распредвала
Рис. 2.13. Схема подключения питающей линии к масляной направляющей камеры «В» регулятора положения распредвала: 1 – электромагнит гидравлического клапана; 2 – камера «A»; 3 – камера «B»; 4 – ротор; 5 – статор


Питающая линия II постоянно связана с источником масла под давлением. На рисунке 2.13 показано положение клапана, при котором питающая линия подключена к масляной направляющей камеры «B» регулятора положения распредвала. Камера «А» регулятора положения распредвала одновременно опорожняется через канал слива IV.

Схема положения клапана, при котором все отверстия для подачи и слива масла закрыты
Рис. 2.14. Схема положения клапана, при котором все отверстия для подачи и слива масла закрыты: 1 – электромагнит гидравлического клапана; 2 – камера «A»; 3 – камера «B»; 4 – ротор; 5 – статор


На рисунке 2.14 показано положение клапана, при котором все отверстия для подачи и слива масла закрыты. Масло не попадает в камеру «A» или камеру « B» регулятора положения распредвала, также не происходит слива масла ни из одной из двух камер. Взаимное положение статора и ротора при этом остается неизменным.

« предыдущая страница
2.1.2. Регулируемые звездочки распределительного вала
^
к оглавлению
следующая страница »
2.1.4. Зубчато-ременная передача

Copyright © 2026 Все права защищены. Все торговые марки являются собственностью их владельцев.