поиск в избранное карта сайта
  Opel РЕМОНТ ОБСЛУЖИВАНИЕ ЭКСПЛУАТАЦИЯ АВТОМОБИЛЕЙ
Опель Корса Б, Комбо, Тигра. Opel Corsa B / Combo / Tigra (с 1993 по 2000 год выпуска)

полные технические характеристики. диагностика. электросхемы
 
Главная
 
Opel
Corsa B / Combo / Tigra
1. Инструкция
2. Органы управления и приемы эксплуатации
3. Настройки и текущее обслуживание автомобиля
4. Двигатели
5. Системы охлаждения двигателя, отопления салона и кондиционирования воздуха
5.1. Общая информация и меры предосторожности
5.2. Антифриз - общие сведения
5.3. Система охлаждения двигателя
5.3.1. Обслуживание системы охлаждения (опорожнение, промывка и заправка)
5.3.2. Снятие, установка и проверка исправности функционирования термостата
5.3.3. Снятие и установка радиатора системы охлаждения
5.3.4. Проверка исправности функционирования, снятие и установка вентилятора системы охлаждения
5.3.5. Проверка исправности функционирования датчика температуры охлаждающей жидкости (ECT)
5.3.6. Проверка состояния водяного насоса
5.3.7. Снятие и установка водяного насоса
5.4. Системы вентиляции, отопления салона и кондиционирования воздуха
6. Системы питания, выпуска и снижения токсичности отработавших газов
7. Системы электрооборудования двигателя
8. Ручная 5-ступенчатая коробка переключения передач
9. Автоматическая 4-ступенчатая трансмиссия
10. Сцепление и приводные валы
11. Тормозная система
12. Подвеска и рулевое управление
13. Кузов
14. Бортовое электрооборудование
 


5.3.7. Снятие и установка водяного насоса

Бензиновые двигатели 1.2, 1.4 и 1.6 л

 ПОРЯДОК ВЫПОЛНЕНИЯ

  1. Отсоедините отрицательный провод от батареи.
  2. Слейте охлаждающую жидкость в чистую емкость и сразу же наденьте шланг обратно и закрепите его.
  3. Снимите зубчатый ремень (см. Главу Двигатели).
  4. На двигателях OHC 1.2 и 1.4 л снимите заднюю крышку зубчатого ремня (см. Главу Двигатели), для чего выверните болты крепления и снимите крышку постели распределительного вала, зубчатые колеса распределительного и коленчатого валов, а также натяжной ролик с корпуса масляного насоса.
  5. Выверните болты крепления и снимите водяной насос (показан двигатель OHC 1.2 или 1.4 л).

Болты крепления водяного насоса

  1. Очистите сопрягаемые поверхности насоса и блока цилиндров.
  2. Чтобы исключить коррозию водяного насоса, смажьте сопрягаемую с ним поверхность блока цилиндров, а также уплотнительное кольцо в корпусе насоса силиконовой смазкой, например, OPEL 19 70 206 (90 167 353).
  3. Установите водяной насос с новым уплотнительным кольцом (2) в блоке цилиндров и затяните болты его крепления с усилием 8 Нм.

На двигателях DOHC 1.4 и 1.6 л установите насос так, чтобы метка (2) на насосе совпадала с меткой (1) на блоке цилиндров


Уплотнительное кольцо водяного насоса
Установочные метки
  1. На двигателях OHC 1.2 и 1.4 л установите заднюю крышку зубчатого ремня, затяните болты ее крепления с усилием 12 Нм, и установите зубчатое колесо коленчатого вала, следя за совпадением меток ВМТ (см. Главу Двигатели).
  2. На двигателях OHC 1.2 и 1.4 л установите натяжной ролик зубчатого ремня. Следите за положением установки: лапка (1) планки ролика должна входить в отверстие (2) корпуса масляного насоса Лапка должна зайти в отверстие до упора вправо. Затяните болт с усилием 20 Нм.Установите зубчатое колесо распределительного вала (см. Главу Двигатели).

Установка натяжного ролика зубчатого ремня

  1. Наденьте зубчатый ремень и натяните его (см. Главу Двигатели).
  2. На двигателях OHC 1.2 и 1.4 л установите крышку постели распределительного вала с новой уплотнительной прокладкой и затяните болты крепления с усилием 8 Нм.
  3. Заправьте систему охлаждения.

Бензиновые двигатели DOHC 1.0 и 1.2 л

 ПОРЯДОК ВЫПОЛНЕНИЯ

  1. Снимите крышку расширительного бачка и стравите тем самым давление в системе охлаждения.
  2. Слейте охлаждающую жидкость.
  3. Снимите воздушный фильтр с датчиком MAF.
  4. Отдайте болты крепления шкива водяного насоса.
  5. Поверните натяжной ролик V-образного ремня за центральный болт в направлении часовой стрелки и тем самым сместите натяжитель, преодолевая усилие пружины.

Ослабление натяжения ремня привода вспомогательных агрегатов

  1. Зафиксируйте положение натяжителя.
  2. Снимите V-образный ремень со шкива.
  3. Выверните нижний болт крепления натяжителя и наклоните его в сторону генератора.
  4. Снимите шланги ОЖ с насоса.
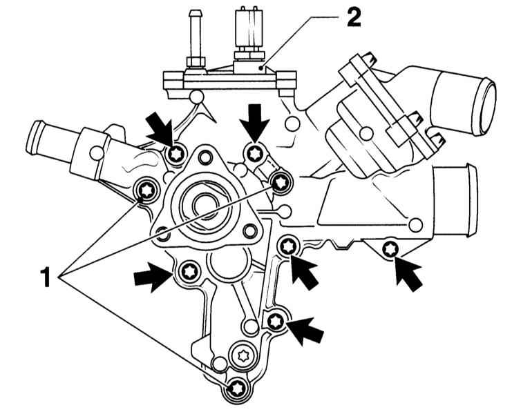
  5. Разъедините разъем датчика ECT (2) и очистите корпус ГРМ.

Разъем (2) датчика ECT и болты крепления водяного насоса: 1 – короткие болты, стрелки – длинные болты

  1. Выверните болты крепления и снимите водяной насос (стрелки и 1 на иллюстрации).
  2. Очистите сопрягаемые поверхности насоса и корпуса ГРМ.
  3. Установите на корпус ГРМ новую прокладку и вставьте направляющие втулки.

Прокладка водяного насоса и направляющие втулки

  1. Установите водяной насос и затяните болты его крепления с усилием 8 Нм.

Короткие болты вверните в отверстия (1), а длинные болты - в отверстия, отмеченные стрелками (обратитесь к иллюстрации).

  1. Затяните нижний болт крепления натяжителя V-образного ремня с усилием 20 Нм.
  2. Наденьте V-образный ремень и натяните его (см. Главу Настройки и текущее обслуживание автомобиля).
  3. Установите воздушный фильтр с датчиком MAF.
  4. Заправьте систему охлаждения.

Дизельный двигатель

 ПОРЯДОК ВЫПОЛНЕНИЯ

  1. Отсоедините отрицательный провод от батареи.
  2. Слейте охлаждающую жидкость в чистую емкость, после чего сразу же наденьте шланг и закрепите его.
  3. Снимите воздушный фильтр и рукав воздухозаборника.
  4. Снимите V-образный ремень.
  5. Выверните болты крепления шкива водяного насоса и снимите шкив При выворачивании болтов удерживайте шкив съемником масляного фильтра, например, HAZET 2170.

Болты крепления шкива водяного насоса

  1. Слегка приподнимите двигатель.

Использование специального приспособления для подъема двигателя

  1. Выверните болты крепления демпфирующей опоры двигателя к держателю на блоке цилиндров.

Болты крепления демпфирующей опоры двигателя к держателю

  1. Осторожно опустите двигатель и снимите шкив V-образного ремня.
  2. Выверните болты крепления водяного насоса и выньте его вместе с направляющей из блока цилиндров.

Болты крепления водяного насоса

  1. Очистите сопрягаемые поверхности насоса и блока цилиндров.
  2. Вставьте в блок цилиндров направляющую канала охлаждающей жидкости.

Направляющая канала охлаждающей жидкости

  1. Установите насос с новой прокладкой в блок цилиндров и затяните болты крепления насоса с усилием 20 Нм.
  2. Установите шкив насоса.
  3. Приподнимите двигатель.
  4. Закрепите демпфирующую опору двигателя на держателе с усилием 60 Нм.
  5. Опустите двигатель.
  6. Затяните крепеж шкива водяного насоса с усилием 20 Нм.
  7. Установите V-образный ремень и натяните его.
  8. Установите воздушный фильтр и рукав воздухозаборника.
  9. Заправьте систему охлаждения.


« предыдущая страница
5.3.6. Проверка состояния водяного насоса
^
к оглавлению
следующая страница »
5.4. Системы вентиляции, отопления салона и кондиционирования воздуха

Copyright © 2026 Все права защищены. Все торговые марки являются собственностью их владельцев.