поиск в избранное карта сайта
  Saab РЕМОНТ ОБСЛУЖИВАНИЕ ЭКСПЛУАТАЦИЯ АВТОМОБИЛЕЙ
Сааб 9-5. Saab 9-5 (с 1997 года выпуска)

полные технические характеристики. диагностика. электросхемы
 
Главная
 
Saab
9-5
1. Введение
2. Органы управления и приемы эксплуатации
3. Настройки и текущее обслуживание автомобиля
4. Двигатель
5. Системы охлаждения двигателя, отопления, вентиляции и кондиционирования воздуха
6. Системы питания и выпуска отработавших газов
7. Системы электрооборудования двигателя
8. Ручная коробка переключения передач
9. Автоматическая трансмиссия
10. Сцепление и приводные валы
11. Тормозная система
12. Подвеска и рулевое управление
13. Кузов
14. Бортовое электрооборудование
14.1. Общая информация
14.2. Диагностика неисправностей бортового электрооборудования - общая информация
14.3. Предохранители - общая информация
14.4. Реле - общая информация и проверка исправности функционирования
14.5. Стеклоподъёмники
14.6. Подрулевые переключатели
14.7. Комбинация приборов
14.8. Снятие и установка осветительных приборов и замена их ламп
14.9. Регулировка наклона фар
14.10. Снятие и установка датчиков регулировки наклона фар
14.11. Снятие и установка клаксона
14.12. Стеклоочистители и стеклоомыватели
14.13. Датчики системы помощи при парковке
14.14. Снятие и установка аудиосистемы и динамиков
14.15. Снятие и установка компонентов системы SRS
14.16. Снятие и установка блоков управления DICE и TWICE
14.17. Схемы электрооборудования
 


14.15. Снятие и установка компонентов системы SRS

При работе с системой SRS следует обязательно отсоединять электропроводку от аккумуляторной батареи, а затем ещё выждать некоторое время, чтобы разрядились конденсаторы. Это необходимо для предотвращения случайного срабатывания пиропатронов. После снятия компонентов SRS потребуется удалить коды неисправности из памяти блока управления.

Расположение компонентов системы SRS

1 — 236LH/RH Натяжители ремней безопасности
328D/P — Датчики бокового столкновения
331 — Блок управления SRS
332FL/FR — Датчики лобового столкновения
333D/P — Блок подушки безопасности водителя/переднего пассажира
333Db/Pb — Блоки боковых подушек безопасности

336a — Спиральная пружина на рулевой колонке
445 — DLC
540-47t — К/Л в комбинации приборов
628 — TWICE
632 — DICE
669D/P — Датчики положения сидений
70D/P — Датчики в замках ремней безопасности

Описание снятия и установки блока подушки безопасности водителя и спиральной входит в состав описания снятия и установки рулевого колеса (см. Раздел Снятие и установка рулевого колеса). Датчики бокового столкновения расположены в передних дверях, и их снятие приводится в Разделе Снятие, установка, разборка и сборка передней двери и её компонентов.

Для снятия и установки боковых подушек безопасности (при соответствующей комплектации) потребуется снять переднее сиденье и обивку его спинки.

Блок подушки безопасности переднего пассажира

 ПОРЯДОК ВЫПОЛНЕНИЯ

  1. Снимите панель приборов (см. Раздел Снятие и установка панели приборов и её компонентов).
  1. Отдайте 6 гаек крепления блока подушки безопасности переднего пассажира.
  1. Снимите блок управления, разъединив его разъём.

Блок управления SRS

 ПОРЯДОК ВЫПОЛНЕНИЯ

  1. Cнимите центральную консоль, разъедините разъём и выверните 3 гайки крепления блока управления SRS.

Датчик лобового столкновения

 ПОРЯДОК ВЫПОЛНЕНИЯ

  1. Снимите боковую секцию декоративной решётки радиатора.
  1. Отдайте 3 гайки и разъедините разъём датчика.

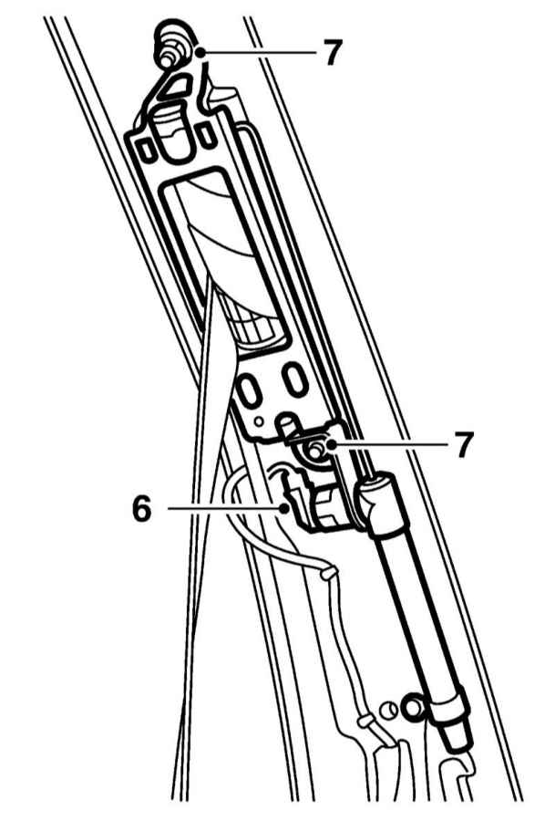
Аварийные натяжители ремней безопасности

 ПОРЯДОК ВЫПОЛНЕНИЯ

  1. Сдвиньте соответствующее сиденье как можно дальше вперёд.
  1. Снимите закреплённую на фиксаторах обшивку стойки B и воздуховод (3).
  1. Снимите ремень безопасности с переднего сиденья, затем снимите направляющую ремня и пропустите его через обшивку стойки B.
  1. Разъедините разъём (6), выверните 3 винта (7) и снимите аварийный натяжитель ремня безопасности.

« предыдущая страница
14.14. Снятие и установка аудиосистемы и динамиков
^
к оглавлению
следующая страница »
14.16. Снятие и установка блоков управления DICE и TWICE

Copyright © 2026 Все права защищены. Все торговые марки являются собственностью их владельцев.