|
|
 |
11.10. Снятие, обслуживание и установка дисковых тормозных механизмов передних колесСНЯТИЕ
Установка пыльников поршней
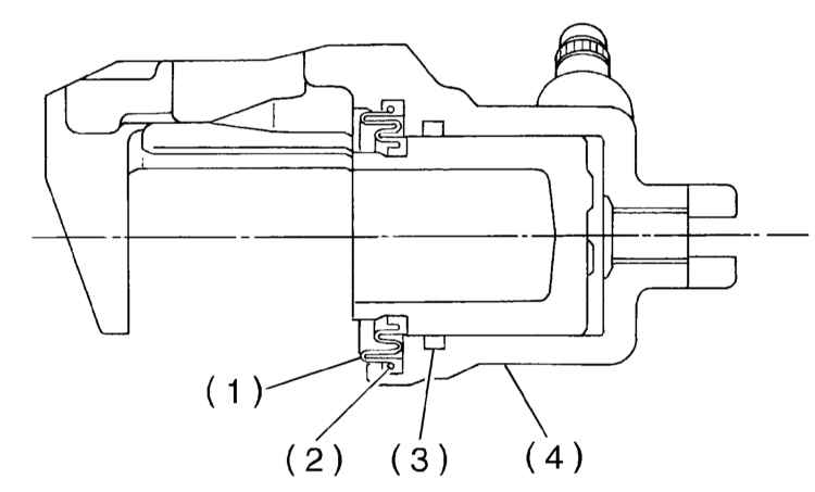
Места нанесения смазки под установку стопорного и направляющего болтов
|
|
|
|
|
|
1. Отпустите колесные гайки, поддомкратьте передок
автомобиля и установите его на подпорки, снимите соответствующее
колесо.
|
2. Выверните полый болт штуцерного
разъема и отсоедините от суппорта гибкий тормозной шланг,
предварительно пережав его струбциной с целью минимизации
потерь гидравлической жидкости.
|
В случае
попадания тормозной жидкости на окрашенные кузовные
поверхности немедленно удалите ее чистой ветошью!
|
|
|
3. Выверните болт стопорный
болт крепления корпуса суппорта.
|
4. Поднимите суппорт и отведите его в направлении центра автомобиля,
снимая с анкерной скобы тормозного механизма.
5. Выверните крепежные болты и снимите с тормозного диска анкерную
скобу суппорта.
|
Скоба снимается только
в тех случаях, когда в обслуживании нуждается она самое, либо
тормозной диск.
|
6. Снимите со ступичной сборки тормозной диск (см. Раздел
Снятие, проверка состояния и установка передних тормозных дисков).
7. Тщательно очистите снятые компоненты от пыли и грязи.
|
Постарайтесь
не допустить попадания посторонних частиц в колесный цилиндр
через открытый штуцер подключения гибкого тормозного шланга!
|
|
|
РАЗБОРКА
|
|
|
1. Поддев отверткой, снимите
кольца фиксации пыльников поршней.
|
2. Снимите пыльники.
|
3. Медленно подавая в штуцер
подсоединения гибкого тормозного шланга сжатый воздух, вытолкните
поршни из цилиндров, - перед торцами поршней установите деревянный
брусок толщиной порядка 30 мм.
1 — Место установки деревянного бруска
|
|
4. Извлеките из цилиндров суппорта
манжеты поршней.
|
5. Снимите защитные чехлы стопорного и направляющего болтов (пальцев).
6. Внимательно изучите состояние снятых компонентов. Проверьте корпус
суппорта и поршни на наличие признаков неравномерного износа, механических
повреждений и следов развития коррозии. Удостоверьтесь в отсутствии
признаков старения материала пыльников, манжет и защитных чехлов.
Дефектные компоненты замените в рамках выпускаемых ремнаборов.
|
|
СБОРКА
|
|
|
1. Тщательно протрите внутренние поверхности цилиндров
смоченной в тормозной жидкости неворсящейся ветошью.
2. Смочите тормозной жидкостью манжеты поршней и посадите их в свои
приемные канавки в цилиндрах суппорта.
3. Смажьте тормозной жидкостью внутренние стенки цилиндров и наружные
стенки поршней.
4. Вручную заправьте поршни в цилиндры, поршни должны войти в цилиндры
без особого сопротивления.
5. Смажьте специальной смазкой типа NIGLUBE RX-2 (№ 003606000) пыльники
поршней и посадите их в канавки на поршнях и корпусе суппорта в
порядке перечисления последних.
6. Зафиксируйте пыльники крепежными кольцами, - постарайтесь не
повредить резину.
7. Смажьте упомянутой выше смазкой стопорный и направляющий болты,
а также внутренние стенки отверстий под установку в суппорте и стенки
канавок под установку защитных чехлов.
8. Посадите защитные чехлы на суппорт.
|
|
УСТАНОВКА
|
|
|
Установка производится в обратном порядке. Порядок
установки тормозных колодок описан в Разделе
Проверка состояния замена колодок дисковых тормозных механизмов передних колес. Усилие затягивания
болтов крепления анкерной скобы составляет 78 Нм. Болты крепления
корпуса суппорта затягиваются с усилием 39 Нм, штуцерный болт -
с усилием 18 Нм.
|
Медные уплотнительные
шайбы штуцерного разъема гибкого тормозного шланга подлежат
замене в обязательном порядке! Проследите, чтобы шланг при
подсоединении не оказался перекручен!
|
|
|
|
|