поиск в избранное карта сайта
  Subaru РЕМОНТ ОБСЛУЖИВАНИЕ ЭКСПЛУАТАЦИЯ АВТОМОБИЛЕЙ
Субару Легаси, Аутбэк. Subaru Legacy / Outback (с 1999 по 2003 год выпуска)

полные технические характеристики. диагностика. электросхемы
 
Главная
 
Subaru
Legacy / Outback (1999)
1. Введение
2. Руководство по эксплуатации
3. Текущее обслуживание
4. Двигатель
5. Системы охлаждения, отопления
6. Системы питания и выпуска
7. Электрооборудование двигателя
8. Ручная коробка и дифференциал
9. Автоматическая трансмиссия
10. Сцепление
11. Тормозная система
11.1. Спецификации
11.2. Тормозные механизмы передних и задних колес - общая информация
11.3. Стояночный тормоз - конструкция и принцип функционирования
11.4. Клапан-ограничитель давления - конструкция и принцип функционирования
11.5. Противооткатная система - устройство, принцип функционирования и меры предосторожности
11.6. Система антиблокировки тормозов (ABS) - общая информация, принцип функционирования
11.7. Система динамической стабилизации (VDC) - общая информация, принцип функционирования
11.8. Проверка состояния замена колодок дисковых тормозных механизмов передних колес
11.9. Снятие, проверка состояния и установка передних тормозных дисков
11.10. Снятие, обслуживание и установка дисковых тормозных механизмов передних колес
11.11. Проверка состояния и замена колодок дисковых тормозных механизмов задних колес
11.12. Снятие, проверка состояния и установка задних тормозных дисков
11.13. Снятие, обслуживание и установка дисковых тормозных механизмов задних колес
11.14. Снятие, обслуживание и установка главного тормозного цилиндра (ГТЦ)
11.15. Снятие, установка и проверка исправности функционирования вакуумного усилителя тормозов
11.16. Снятие, установка и проверка исправности функционирования клапана-ограничителя давления
11.17. Замена тормозной жидкости
11.18. Прокачка гидравлического тракта тормозной системы
11.19. Проверка состояния и замена гибких тормозных шлангов
11.20. Проверка состояния и замена трубок тормозного тракта
11.21. Снятие, обслуживание, установка и регулировка педали ножного тормоза
11.22. Снятие, проверка состояния, установка и регулировка датчика-выключателя стоп-сигналов
11.23. Снятие, установка, проверка состояния и регулировка рычага привода стояночного тормоза
11.24. Снятие, проверка состояния и установка элементов тросового привода стояночного тормоза
11.25. Снятие, установка и регулировка механизма стояночного тормоза
11.26. Снятие, установка, проверка состояния и регулировка компонентов противооткатного устройства
11.27. Снятие, установка и проверка исправности функционирования сборки модуля управления / гидромодулятора ABS
11.28. Проверка последовательности срабатывания клапанов гидромодулятора ABS
11.29. Снятие, установка и проверка исправности функционирования передних колесных датчиков ABS
11.30. Снятие, установка и проверка исправности функционирования задних колесных датчиков ABS
11.31. Снятие, установка и проверка состояния роторов колесных датчиков
11.32. Снятие, установка и диагностика датчика перегрузок (G-датчик)
11.33. Диагностика отказов ABS
11.34. Снятие, установка и регулировка модуля управления VDC
11.35. Снятие, установка и проверка исправности функционирования гидромодулятора VDC
11.36. Проверка последовательности срабатывания клапанов гидромодуляторов ABS и VDC
11.37. Снятие, установка и проверка исправности функционирования датчика увода / поперечных перегрузок
11.38. Снятие, установка и проверка исправности функционирования датчика угла поворота рулевого колеса VDC
11.39. Снятие, установка и проверка исправности функционирования колесных датчиков с роторами
11.40. Снятие, установка и проверка исправности функционирования выключателя деактивации VDC (VDC OFF)
11.41. Диагностика отказов VDC
12. Подвеска и рулевое управление
13. Кузов
14. Бортовое электрооборудование
 


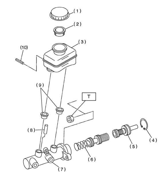
11.14. Снятие, обслуживание и установка главного тормозного цилиндра (ГТЦ)

Детали установки ГТЦ (модели без VDC)

1 — Крышка резервуара
2 — Сетчатый фильтр
3 — Резервуар
4 — Держатель поршней
5 — Первичный поршень
6 — Вторичный поршень
7 — Корпус цилиндра
8 — Палец (модели с ABS)

9 — Посадочные уплотнительные втулки
10 — Штифт

Усилия затягивания резьбовых соединений, Нм

Т: 14


Детали установки ГТЦ (модели с VDC)

1 — Крышка резервуара
2 — Сетчатый фильтр
3 — Резервуар
4 — Стопорное кольцо
5 — Первичный поршень
6 — Вторичный поршень
7 — Корпус цилиндра
8 — Палец

9 — Посадочные уплотнительные втулки
10 — Штифт

Усилия затягивания резьбовых соединений, Нм

Т: 14

СНЯТИЕ

 ПОРЯДОК ВЫПОЛНЕНИЯ

1. Полностью откачайте тормозную жидкость из резервуара ГТЦ.
2. Отсоедините электропроводку от датчика-выключателя уровня тормозной жидкости. Отсоедините от ГТЦ гидравлические трубки, - сразу же закупорьте открытые концы линий во избежание попадания в систему грязи.
3. Отпустите гайки крепления ГТЦ и отделите последний от сборки вакуумного усилителя тормозов, - постарайтесь не допустить попадания тормозной жидкости на окрашенные кузовные поверхности. Следы пролитой жидкости немедленно собирайте бумажными полотенцами.

РАЗБОРКА

 ПОРЯДОК ВЫПОЛНЕНИЯ

1. Тщательно протрите поверхность ГТЦ.
2. Приготовьте необходимые инструменты и аккуратно разложите их на чистом верстаке.
3. При помощи выколотки извлеките штифт крепления на ГТЦ резервуара тормозной жидкости.

4. Отожмите внутрь цилиндра первичный поршень и при помощи подходящего магнита извлеките фиксирующий палец.

5. На не оборудованных системой динамической стабилизации (VDC) моделях подденьте стопорный язычок и снимите держатель поршней.

6. На моделях с VDC при помощи подходящих щипцов снимите стопорное кольцо.

7. Будьте осторожны, - первичный поршень может выскочить из цилиндра.
8. Извлеките из цилиндра оба поршня.

Поршневая группа ГТЦ нуждается в разборке только в случае необходимости замены комплекта пружин.

9. Промойте снятые компоненты и внутренние стенки цилиндра чистой тормозной жидкостью или метиловым спиртом.

  При пользовании метанолом не погружайте в него резиновые чашки поршней более чем на 30 секунд во избежание их разбухания!

10. Внимательно изучите состояние компонентов ГТЦ (поршневые сборки, упор подающего клапана, прокладка и пр.). Дефектные элементы замените.

 Поршни заменяются в комплекте (первичный со вторичным). Поршни подлежат замене также в случае, если зазор посадки какого-либо из них в цилиндре превышает 0.11 мм. Постарайтесь не допустить попадание внутрь сборки посторонних частиц.

СБОРКА

 ПОРЯДОК ВЫПОЛНЕНИЯ

1. Удостоверьтесь в абсолютности чистоты всех компонентов.
2. Смажьте чистой тормозной жидкостью поршни и внутренние стенки цилиндра и установите на место поршневую группу ГТЦ.
3. Отожмите первичный поршень и установите на место фиксирующий палец.
4. На моделях без VDC отожмите стопорный язычок и посадите на место держатель поршней. На моделях с VDC установите стопорное кольцо, проследив за надежностью посадки его в приемной канавке.

5. Установите на резервуар посадочные уплотнительные втулки.

6. Посадите резервуар на сборку ГТЦ и зафиксируйте его штифтом.

УСТАНОВКА

 ПОРЯДОК ВЫПОЛНЕНИЯ

1. Установка производится в порядке, обратном порядку демонтажа компонентов. Усилие затягивания крепежных гаек составляет 14 Нм. Накидные гайки штуцерных разъемов затягиваются с усилием 15 Нм.
2. Залейте в резервуар свежую гидравлическую жидкость и прокачайте тормозную систему (см. Раздел Прокачка гидравлического тракта тормозной системы).


« предыдущая страница
11.13. Снятие, обслуживание и установка дисковых тормозных механизмов задних колес
^
к оглавлению
следующая страница »
11.15. Снятие, установка и проверка исправности функционирования вакуумного усилителя тормозов

Copyright © 2026 Все права защищены. Все торговые марки являются собственностью их владельцев.