поиск в избранное карта сайта
  Subaru РЕМОНТ ОБСЛУЖИВАНИЕ ЭКСПЛУАТАЦИЯ АВТОМОБИЛЕЙ
Субару Легаси, Аутбэк. Subaru Legacy / Outback (с 1999 по 2003 год выпуска)

полные технические характеристики. диагностика. электросхемы
 
Главная
 
Subaru
Legacy / Outback (1999)
1. Введение
2. Руководство по эксплуатации
3. Текущее обслуживание
4. Двигатель
5. Системы охлаждения, отопления
6. Системы питания и выпуска
7. Электрооборудование двигателя
8. Ручная коробка и дифференциал
9. Автоматическая трансмиссия
10. Сцепление
11. Тормозная система
12. Подвеска и рулевое управление
13. Кузов
14. Бортовое электрооборудование
14.1. Спецификации
14.2. Поиск причин отказов электрооборудования
14.3. Предохранители - общая информация
14.4. Прерыватели цепи - общая информация
14.5. Реле - общая информация и проверка исправности функционирования
14.6. Детали прокладки бортовой электропроводки
14.7. Система дополнительной безопасности (SRS) - устройство и принцип функционирования
14.8. Диагностика неисправностей SRS
14.9. Снятие и установка компонентов SRS
14.10. Система управления скоростью (темпостат) - устройство и принцип функционирования
14.11. Проверка исправности функционирования компонентов и диагностика отказов темпостата
14.12. Снятие, проверка состояния и установка компонентов системы управления скоростью
14.13. Комбинация приборов - общая информация и принцип функционирования компонентов
14.14. Диагностика отказов компонентов комбинации приборов
14.15. Снятие, обслуживание и установка комбинации приборов, проверка состояния компонентов
14.16. Обогрев заднего стекла и зеркал заднего вида - общая информация, проверка исправности функционирования компонентов, восстановительный ремонт термоэлектрического нагревательного элемента
14.17. Обогрев щеток стеклоочистителей - общая информация, проверка исправности функционирования компонентов, восстановительный ремонт термоэлектрического нагревательного элемента
14.18. Снятие, проверка состояния и установка выключателей управления функционированием электропривода регуляторов стеклоподъемников
14.19. Электропривод зеркал заднего вида - проверка исправности функционирования
14.20. Снятие проверка и установка переключателя управления функционированием электропривода наружных зеркал заднего вида
14.21. Снятие, проверка состояния и установка переключателя управления функционированием электропривода верхнего люка
14.22. Снятие, проверка состояния и установка комбинированных подрулевых переключателей
14.23. Проверка исправности функционирования электромоторов привода стеклоочистителей, снятие, проверка и установка управляющего реле заднего стеклоочистителя на моделях Legacy Универсал / Outback
14.24. Проверка реле и выключателей осветительных и сигнальных приборов
14.25. Снятие и установка осветительных приборов, замена ламп
14.26. Снятие, проверка состояния и установка рожков и выключателя клаксона
14.27. Проверка состояния и замена контактной группы выключателя зажигания
14.28. Единый замок - устройство, принцип функционирования, диагностика неисправностей
14.29. Снятие, проверка состояния и установка компонентов единого замка
14.30. Система иммобилизации двигателя - устройство, принцип функционирования, диагностика неисправностей
14.31. Снятие и установка компонентов системы иммобилизации двигателя
14.32. Снятие и установка сборки радиоприемника
14.33. Снятие и установка громкоговорителей
14.34. Проверка состояния и восстановительный ремонт оконной антенны радиоприемника
14.35. Снятие, установка и проверка состояния антенного усилителя радиоприемника
14.36. Снятие и установка прикуривателя
14.37. Схемы электрических соединений
 


14.25. Снятие и установка осветительных приборов, замена ламп

Сборки блок-фар

Снятие и установка


 ПОРЯДОК ВЫПОЛНЕНИЯ

1. Отсоедините отрицательный провод от батареи.
2. При обслуживании правой блок-фары снимите воздухозаборник (см. Раздел Обслуживание компонентов впускного воздушного тракта Главы Системы охлаждения, отопления на диске 1).

3. Рассоедините контактный разъем электропроводки.

А — Регулировочный болт
В — Регулировочный болт

4. Выверните три крепежных болта и снимите блок-фару.

5. Установка производится в обратном порядке.


Регулировка

 ПОРЯДОК ВЫПОЛНЕНИЯ

 Регулировка фар должна производиться при полностью заправленном топливном баке и с человеком на водительском месте.


  Перед выполнением корректировки фары следует погасить. При проверке правильности выполненных регулировок фары не должны включаться более чем на 2 минуты!

1. Удостоверьтесь, что несущие кузовные элементы передка автомобиля в районе установки блок-фар не деформированы и не повреждены в результате столкновения.
2. Запаркуйте автомобиль на ровной горизонтальной площадке на удалении порядка 3 метров от вертикальной стены, перпендикулярно последней.
3. Проверьте правильность накачки шин, в случае необходимости произведите соответствующие корректировки.
4. Покачайте углы автомобиля для усадки элементов подвески.

5. Переведите переключатель корректора фар в положение «0» и, вращением винтов вертикальной (А) и горизонтальной (В) корректировки произведите регулировку положения блок-фар в соответствии с требованиями, оговоренными на иллюстрации и в таблице 40.


Таблица 40


Замена ламп

Лампы фар


 ПОРЯДОК ВЫПОЛНЕНИЯ

  При горении галогенные лампы разогреваются до высокой температуры, в связи с чем попадание на стекло колбы грязи и жировых пятен приводит к сокращению срока службы лампы, - старайтесь не прикасаться к лампе голыми руками!

1. Отсоедините отрицательный провод от батареи.
2. При обслуживании правой блок-фары снимите воздухозаборник (см. Раздел Обслуживание компонентов впускного воздушного тракта Главы Системы охлаждения, отопления на диске 1).

3. Снимите заднюю крышку

4. Рассоедините контактный разъем электропроводки соответствующей лампы

5. Отожмите пружинный держатель и извлеките лампу из патрона.
6. Установка производится в обратном порядке, - проследите, чтобы сменная лампа соответствовала по своим типоразмеру и рабочим параметрам требованиям Спецификаций.


Лампы передних указателей поворотов

 ПОРЯДОК ВЫПОЛНЕНИЯ

1. Снимите сборку блок-фары (см. выше).

2. Поверните патрон и извлеките лампу.

3. Установка производится в обратном порядке, - проследите, чтобы сменная лампа соответствовала по своим типоразмеру и рабочим параметрам требованиям Спецификаций.


Лампы передних парковочных огней

 ПОРЯДОК ВЫПОЛНЕНИЯ

1. Снимите сборку блок-фары (см. выше).

2. Поверните патрон и извлеките лампу.

3. Установка производится в обратном порядке, - проследите, чтобы сменная лампа соответствовала по своим типоразмеру и рабочим параметрам требованиям Спецификаций.


Противотуманные фары

Снятие и установка

 ПОРЯДОК ВЫПОЛНЕНИЯ

Отсоедините отрицательный провод от батареи.


Модели Legacy

 ПОРЯДОК ВЫПОЛНЕНИЯ

1. Отпустите два фиксатора и опустите панель дефлектора.

2. Отсоедините электропроводку, выверните крепежные болты и снимите сборку противотуманной фары.

3. Установка производится в обратном порядке.


Модели Outback

 ПОРЯДОК ВЫПОЛНЕНИЯ

1. Поверните против часовой стрелки и снимите защитную решетку линзы противотуманной фары.

2. Выверните крепежные болты.

3. Отпустите два фиксатора и опустите панель дефлектора.

4. Рассоедините контактный разъем электропроводки, отдайте крепежную гайкуи снимите сборку противотуманной фары.

а — Контактный разъем электропроводки
b — Крепежная гайка

5. Установка производится в обратном порядке.


Замена ламп

Модели Legacy


 ПОРЯДОК ВЫПОЛНЕНИЯ

1. Отсоедините отрицательный провод от батареи.
2. Отпустите два фиксатора и опустите панель дефлектора.

3. Снимите заднюю крышку сборки противотуманной фары.

4. Снимите пружинный держатель и извлеките лампу
5. Установка производится в обратном порядке, - проследите, чтобы сменная лампа соответствовала по своим типоразмеру и рабочим параметрам требованиям Спецификаций.


Модели Outback

 ПОРЯДОК ВЫПОЛНЕНИЯ

1. Снимите сборку противотуманной фары (см. выше).

2. Выверните крепежные винты и снимите заднюю крышку.

3. Отсоедините электропроводку, снимите пружинный держатель и извлеките лампу.
4. Установка производится в обратном порядке, - проследите, чтобы сменная лампа соответствовала по своим типоразмеру и рабочим параметрам требованиям Спецификаций.


Задние комбинированные фонари

Отсоедините отрицательный провод от батареи.

Снятие и установка



Кузовные секции фонарных сборок

Модели Legacy Седан

 ПОРЯДОК ВЫПОЛНЕНИЯ

1. Отпустите фиксаторы и снимите заднюю панель отделки нижнего проема багажного отделения.
2. Снимите угловой крюк и откройте заднюю боковую секцию панели отделки багажного отделения.

3. Отдайте три крепежных гайки и, рассоединив контактный разъем электропроводки, снимите сборку заднего комбинированного фонаря.

4. Установка производится в обратном порядке.


Модели Legacy Универсал/Outback

 ПОРЯДОК ВЫПОЛНЕНИЯ

1. Снимите две крышки задних боковых панелей внутренней отделки (см. Раздел Снятие и установка элементов внутренней отделки).

2. Отдайте две крепежных гайки и, рассоединив контактный разъем электропроводки, снимите сборку заднего комбинированного фонаря.

 Во избежание падения гаек в процессе отпускания обмотайте наконечник сервисного инструмента парой слоев бутиловой ленты.

3. Установка производится в обратном порядке.


Установленная на крышке багажного отделения/двери задка секция фонарной сборки

Модели Седан

 ПОРЯДОК ВЫПОЛНЕНИЯ

1. Откройте крышку багажного отделения.

2. Снимите защитную крышку, отсоедините контактный разъем и снимите фонарь.

А — Защитная крышка
В — Контактный разъем электропроводки

3. Установка производится в обратном порядке.


Модели Legacy Универсал/Outback

 ПОРЯДОК ВЫПОЛНЕНИЯ

1. Снимите нижнюю панель обивки двери задка.

2. Отсоедините электропроводку, отдайте крепежные гайки и снимите фонарную сборку.

А — Крепежные гайки

3. Установка производится в обратном порядке.


Замена ламп

Лампы стоп-сигналов/задних габаритных огней и указателей поворотов

Модели Седан

 ПОРЯДОК ВЫПОЛНЕНИЯ

1. Откройте крышку багажного отделения и снимите заднюю крышку фонарной сборки.
2. Выверните крепежные винты и снимите заднюю крышку фонарной сборки.

3. Поверните патрон и извлеките нуждающуюся в замене лампу.

1 — Лампа стоп-сигнала/заднего габаритного огня
2 — Лампа заднего указателя поворота

4. Установка производится в обратном порядке, - проследите, чтобы сменная лампа соответствовала по своим типоразмеру и рабочим параметрам требованиям Спецификаций.

Модели Legacy Универсал/Outback

 ПОРЯДОК ВЫПОЛНЕНИЯ

1. Снимите сборку заднего комбинированного фонаря (см. выше).

2. Поверните патрон и извлеките нуждающуюся в замене лампу.

1 — Лампа заднего указателя поворота
2 — Лампа стоп-сигнала/заднего габаритного огня

3. Установка производится в обратном порядке, - проследите, чтобы сменная лампа соответствовала по своим типоразмеру и рабочим параметрам требованиям Спецификаций.

Лампы огней заднего хода и туманных фонарей

Модели Седан

 ПОРЯДОК ВЫПОЛНЕНИЯ

1. Откройте крышку багажного отделения и снимите заднюю крышку фонарной сборки.

2. Поверните патрон и извлеките нуждающуюся в замене лампу.

3. Установка производится в обратном порядке, - проследите, чтобы сменная лампа соответствовала по своим типоразмеру и рабочим параметрам требованиям Спецификаций.

Модели Legacy Универсал/Outback

 ПОРЯДОК ВЫПОЛНЕНИЯ

1. Откройте дверь задка и снимите заднюю крышку фонарной сборки.

2. Поверните патрон и извлеките нуждающуюся в замене лампу.

3. Установка производится в обратном порядке, - проследите, чтобы сменная лампа соответствовала по своим типоразмеру и рабочим параметрам требованиям Спецификаций.

Фонарь подсветки заднего номерного знака

Замена лампы

 ПОРЯДОК ВЫПОЛНЕНИЯ

1. Выверните крепежный винт и снимите линзу фонарной сборки.

А — Крепежные винты
В — Линза

2. Извлеките лампу.
3. Установка производится в обратном порядке, - проследите, чтобы сменная лампа соответствовала по своим типоразмеру и рабочим параметрам требованиям Спецификаций.

Стоп-сигнал верхнего уровня

Замена лампы

 ПОРЯДОК ВЫПОЛНЕНИЯ

Отсоедините отрицательный провод от батареи.

Модели Седан

 ПОРЯДОК ВЫПОЛНЕНИЯ

1. Рассоедините контактный разъем электропроводки стоп-сигнала верхнего уровня.

2. Выверните крепежные болты и снимите сборку стоп-сигнала.
3. Извлеките вышедшую из строя лампу.
4. Установка производится в обратном порядке, - проследите, чтобы сменная лампа соответствовала по своим типоразмеру и рабочим параметрам требованиям Спецификаций.

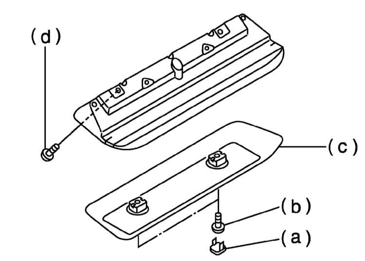
Модели Legacy Универсал/Outback

Детали установки стоп-сигнала верхнего уровня на моделях Legacy Универсал/Outback

а — Декоративный колпачок
b — Крепежный винт

с — Защитная крышка
d — Крепежный винт


 ПОРЯДОК ВЫПОЛНЕНИЯ

1. Поддев отверткой, снимите декоративные колпачки, выверните крепежные винты и снимите защитную крышку сборки стоп-сигнала.
2. Выверните крепежные винты и снимите сборку стоп-сигнала верхнего уровня.
3. Извлеките вышедшую из строя лампу.
4. Установка производится в обратном порядке, - проследите, чтобы сменная лампа соответствовала по своим типоразмеру и рабочим параметрам требованиям Спецификаций.

Боковые повторители указателей поворотов

Замена ламп

 ПОРЯДОК ВЫПОЛНЕНИЯ

1. Отсоедините отрицательный провод от батареи.
2. Отжав вперед и потянув наружу, снимите линзу бокового повторителя с кузовной панели.

3. Отсоедините электропроводку и извлеките лампу.

4. Установка производится в обратном порядке, - проследите, чтобы сменная лампа соответствовала по своим типоразмеру и рабочим параметрам требованиям Спецификаций.

Направленные салонные светильники

Замена ламп

 ПОРЯДОК ВЫПОЛНЕНИЯ

1. Отсоедините отрицательный провод от батареи.

2. Поддев отверткой, снимите панель линз, затем выверните крепежные винты, отсоедините электропроводку и снимите сборки направленных светильников.

А — Панель линз направленных светильников
В — Винты крепления сборок направленных светильников

3. Извлеките нуждающиеся в замене лампы.
4. Установка производится в обратном порядке, - проследите, чтобы сменная лампа соответствовала по своим типоразмеру и рабочим параметрам требованиям Спецификаций.

Главный салонный светильник

Замена лампы

 ПОРЯДОК ВЫПОЛНЕНИЯ

1. Отсоедините отрицательный провод от батареи.

2. Поддев, снимите плафон, затем выверните винты крепления сборки светильника.

А — Плафон
В — Винты крепления сборки светильника

3. Извлеките лампу.
4. Установка производится в обратном порядке, - проследите, чтобы сменная лампа соответствовала по своим типоразмеру и рабочим параметрам требованиям Спецификаций.

Фонарь освещения багажного отделения

 ПОРЯДОК ВЫПОЛНЕНИЯ

Отсоедините отрицательный провод от батареи.

Замена лампы

Модели Седан

 ПОРЯДОК ВЫПОЛНЕНИЯ

1. Отсоедините электропроводку, снимите линзу и извлеките вышедшую из строя лампу.

2. Установка производится в обратном порядке, - проследите, чтобы сменная лампа соответствовала по своим типоразмеру и рабочим параметрам требованиям Спецификаций.

Модели Legacy Универсал/Outback


 ПОРЯДОК ВЫПОЛНЕНИЯ

1. Поддев, снимите плафон, затем выверните винты крепления сборки светильника.

А — Плафон
В — Винты крепления сборки светильника

2. Извлеките лампу.
3. Установка производится в обратном порядке, - проследите, чтобы сменная лампа соответствовала по своим типоразмеру и рабочим параметрам требованиям Спецификаций.

Фонарь освещения главного вещевого ящика

Замена лампы

 ПОРЯДОК ВЫПОЛНЕНИЯ

1. Отсоедините отрицательный провод от батареи.
2. Снимите вещевой ящик (см. Главу Кузов).

3. Отсоедините электропроводку и снимите фонарь.

4. Извлеките лампу.
5. Установка производится в обратном порядке, - проследите, чтобы сменная лампа соответствовала по своим типоразмеру и рабочим параметрам требованиям Спецификаций.


« предыдущая страница
14.24. Проверка реле и выключателей осветительных и сигнальных приборов
^
к оглавлению
следующая страница »
14.26. Снятие, проверка состояния и установка рожков и выключателя клаксона

Copyright © 2026 Все права защищены. Все торговые марки являются собственностью их владельцев.