|
|
 |
13.5. Блок управления отопителемБлок управления отопителем
1 – корпус блока управления отопителем,
2 – лампа подсветки,
3 – боковые поворотные ручки,
|
4 – центральная поворотная ручка,
5 – декоративная накладка панели управления отопителем
|
Троса управления системой отопления и вентиляции
1 – трос с оболочкой белого цвета, управляющий заслонкой
"в ноги/размораживание",
2 – трос с оболочкой черного цвета, управляющий центральной заслонкой,
3 – трос с оболочкой красного цвета, управляющий заслонкой, регулирующей
температуру подаваемого в салон воздуха,
|
4 – блок управления системой отопления и вентиляции,
5 – элементы крепления троса и оболочки троса
|
Крепление тросов управления к блоку отопителя
1 – трос с оболочкой черного цвета, управляющий центральной
заслонкой,
2 – трос с оболочкой белого цвета, управляющий заслонкой температуры воздуха,
3 – закругленный конец троса |
|
Крепление оболочки троса управления блоком отопителя
|
|
1 – держатель,
2 – корпус фиксатора
|
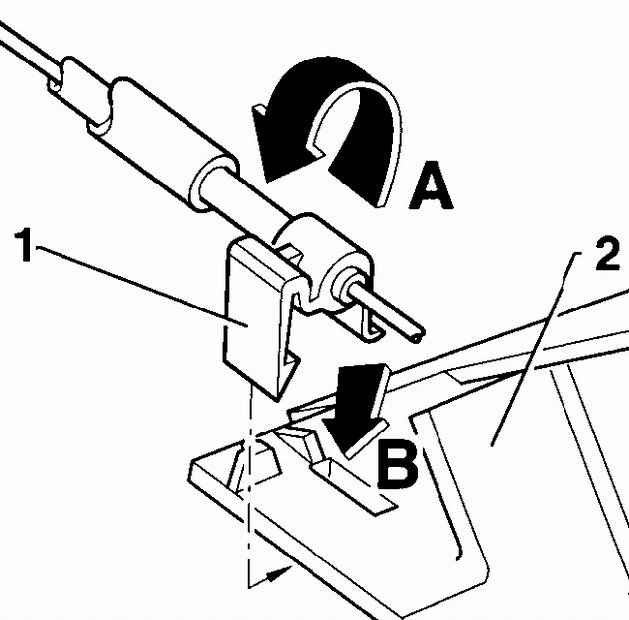
Крепления троса управления заслонкой температуры воздуха
|
|
1 – держатель,
2 – корпус отопителя
|
Снятие
| ПОРЯДОК ВЫПОЛНЕНИЯ |
| 1. Извлеките блок управления отопителем из
панели приборов.
|
| 2. Снимите пластиковые или металлические зажимы,
крепящие оболочки тросов управления к корпусу блока управления. |
| 3. Снимите закругленные концы тросов с рычагов
блока управления.
|
|
Установка
| ПОРЯДОК ВЫПОЛНЕНИЯ |
| 1. Установите закругленные концы тросов на
рычаги блока управления, затем закрепите оболочки тросов зажимами.
|
| 2. Для крепления оболочки троса управления
вставьте держатель троса (1) в корпус фиксатора (2) до защелкивания
держателя троса, см. рис. Крепление оболочки
троса управления блоком отопителя. |
| 3. Для крепления оболочки троса, управляющего
заслонкой температуры вставьте ножку держателя (1) в паз (В) и, повернув
его против часовой стрелки (А), зафиксируйте на корпусе блока отопителя,
см. рис. Крепления троса управления заслонкой
температуры воздуха. |
|
|
|