поиск в избранное карта сайта
  Opel РЕМОНТ ОБСЛУЖИВАНИЕ ЭКСПЛУАТАЦИЯ АВТОМОБИЛЕЙ
Опель Астра Г, Зафира. Opel Astra G / Zafira (с 1998 года выпуска)

полные технические характеристики. диагностика. электросхемы
 
Главная
 
Opel
Astra G / Zafira
1. Введение
2. Руководство по эксплуатации
3. Текущее обслуживание
3.1. График текущего обслуживания
3.2. Спецификации
3.3. Общие сведения о настройках и регулировках
3.4. Проверка уровней жидкостей
3.5. Проверка состояния шин и давления их накачки, ротация колес
3.6. Замена двигательного масла и масляного фильтра
3.7. Проверка состояния и замена ремня привода вспомогательных агрегатов
3.8. Удаление отстоя из топливного фильтра дизельного двигателя
3.9. Проверка состояния и замена расположенных в двигательном отсеке шлангов
3.10. Проверка состояния компонентов системы охлаждения
3.11. Проверка, обслуживание и зарядка аккумуляторной батареи
3.12. Проверка состояния и замена щеток стеклоочистителей
3.13. Осмотр компонентов подвески и рулевого привода, проверка состояния защитных чехлов приводных валов
3.14. Проверка тормозной системы
3.15. Проверка электрооборудования
3.16. Контроль состояния антикоррозионного покрытия кузова и днища автомобиля
3.17. Смазывание замков, петель и упоров
3.18. Обнуление индикатора интервалов технического обслуживания
3.19. Замена фильтрующего элемента воздухоочистителя - дизельные модели выпуска по 09.2000
3.20. Замена салонного фильтра
3.21. Замена топливного фильтра - дизельные модели выпуска по 09.2000
3.22. Проверка оборотов холостого хода и состава отработавших газов
3.23. Замена фильтрующего элемента воздухоочистителя - все бензиновые модели и дизели выпуска с 10.2000
3.24. Замена топливного фильтра - дизельные модели выпуска с 10.2000
3.25. Замена свечей зажигания, проверка состояния ВВ электропроводки
3.26. Замена топливного фильтра - бензиновые модели
4. Двигатель
5. Системы охлаждения, отопления
6. Системы питания и выпуска
7. Электрооборудование двигателя
8. Ручная коробка передач
9. Автоматическая трансмиссия
10. Сцепление и приводные валы
11. Тормозная система
12. Подвеска и рулевое управление
13. Кузов
14. Бортовое электрооборудование
 


3.4. Проверка уровней жидкостей

Ниже описаны также некоторые специальные процедуры обслуживания, требующие выполнения дополнительных проверок уровней жидкостей. Регулярно заглядывайте под автомобиль, проверяя его на наличие признаков развития утечек рабочих жидкостей.


Составители настоящего Руководства рекомендуют производить проверку уровней основных рабочих жидкостей (двигательное масло, охлаждающая жидкость, жидкость омывания ветрового стекла, электролит батареи, жидкость системы гидроусиления руля) на регулярной основе, не реже через каждые 7500 км пробега. Остальных - в соответствии с графиком ТО (см. График текущего обслуживания).

Различные гидравлические жидкости играют роль рабочих тел в системах смазки, охлаждения, торможения, сцепления, отопления и кондиционирования воздуха, омывания стекол и т.д. Ввиду того, что все жидкости с течением времени подвержены разжижению и выработке, а также в ходе нормального функционирования систем постепенно загрязняются, необходимо периодически производить их полную замену. Прежде чем приступать к корректировке уровня или замене, ознакомьтесь со списком рекомендованных к использованию в автомобиле сортов жидкостей (см. Спецификации).

При проверке уровней жидкостей автомобиль должен быть запаркован на ровной горизонтальной площадке, по возможности с твердым покрытием.

Двигательное масло

Визуальный контроль утечек

При замасленном двигателе и большом расходе масла проверьте места наиболее вероятного развития утечек:

 ПОРЯДОК ВЫПОЛНЕНИЯ

  1. Откройте крышку заливной горловины и проверьте уплотнение на наличие трещин или повреждений.
  2. Вентиляция картера: Например, вентиляционный шланг от крышки головки цилиндров к шлангу всасывания воздуха.
  3. Прокладка крышки головки цилиндров.
  4. Прокладка головки цилиндров.
  5. Пробка удаления масла (круглое кольцо).
  6. Прокладка масляного фильтра: стык фильтра с фланцем.
  7. Прокладка поддона картера.
  8. Передний и задний сальники коленчатого вала.

Так как при наличии неплотностей масло распространяется по большой поверхности двигателя, места утечек сразу определить сложно. Для обнаружения утечек действуйте следующим образом:

 ПОРЯДОК ВЫПОЛНЕНИЯ

  1. Заверните генератор в полиэтилен. Опрыскайте двигатель обычным холодным очистителем и через непродолжительное время промойте водой на автомойке.
  2. Стыки компонентов двигателя посыпьте снаружи известью или тальком.
  3. Проверьте уровень масла, при необходимости долейте.
  4. Сделайте пробную поездку. Так как масло в горячем двигателе снижает свою вязкость и быстрее выступает в местах утечек, необходимо пробную поездку выполнить на расстояние около 30 км по скоростной трассе.
  5. В заключение исследуйте двигатель с помощью лампы и локализуйте места утечек, устранив неисправности.

Проверка уровня

Если приступить к измерению уровня двигательного масла сразу после выключения двигателя, часть масла останется в верхней части двигателя, что существенно отразится на точности показаний щупа.

Проверка уровня двигательного масла производится при помощи измерительного щупа, продетого в направляющую трубку и опускаемого в двигатель до нижней точки поддона его картера. Местоположение измерительного щупа показано на иллюстрациях, показывающих размещение компонентов в двигательном отсеке автомобиля и помещенных в начале настоящей Главы.

Проверка уровня масла должна производиться перед первой в текущий день поездкой, либо спустя около 15 минут после остановки двигателя. Если выполнить проверку немедленно после выключения двигателя, результаты ее не будут адекватно отражать ситуацию, так как часть масла окажется распределенной по внутренним галереям и компонентам двигателя.

 ПОРЯДОК ВЫПОЛНЕНИЯ

  1. Извлеките измерительный щуп из направляющей трубки и насухо протрите его лезвие чистой ветошью или бумажным полотенцем. Вставьте щуп обратно в трубку до упора, затем вновь извлеките. Осмотрев лезвие щупа, оцените величину смоченного маслом участка. Уровень масла должен находиться между верхней и нижней отметками на лезвии щупа. В случае необходимости долейте в двигатель соответствующее количество масла требуемого сорта.
  1. Для подъема уровня от нижней (MIN) отметки на щупе до верхней (МАХ) требуется чуть меньше одного литра масла. Опускание уровня за пределы нижней границы допустимого диапазона ведет к развитию масляного голодания двигателя, чреватого серьезными механическими повреждениями последнего. Старайтесь также не переливать масло выше верхней отметки, так как это может привести к забрасыванию свечей зажигания или выходу из строя сальников силового агрегата в результате чрезмерного повышения давления.
  2. Для того чтобы залить масло в двигатель необходимо снять оборудованную резьбой крышку заливной горловины (см. иллюстрации Схема расположения компонентов в двигательном отсеке бензиновых моделей Astra G 1.6 л SOHC или Схема расположения компонентов в двигательном отсеке бензиновых моделей Astra G 1.6 л DOHC или Схема расположения компонентов в двигательном отсеке бензиновых моделей Zafira 1.6 л SOHC или Схема расположения компонентов в двигательном отсеке бензиновых моделей Astra G 1.7 л SOHC или Схема расположения компонентов в двигательном отсеке бензиновых моделей Astra G 1.7 л DOHC). Во избежание разбрызгивания масла во время заправки его в двигатель воспользуйтесь воронкой, либо масленкой с длинным носиком. Залив масло, наверните и прочно затяните крышку заливной горловины, затем запустите двигатель и внимательно осмотрите на наличие признаков утечек сливную пробку и сопрягаемую с блоком поверхность масляного фильтра. Заглушите двигатель, обождите около 15 минут, в течение которых масло сольется в поддон, затем еще раз проверьте его уровень.

Проверка уровня моторного масла является важной профилактической процедурой обслуживания двигателя. Постоянное снижение уровня свидетельствует о наличии утечек масла в результате выхода из строя сальников, повреждения уплотнительных прокладок, износа поршневых колец или направляющих втулок клапанов. Если масло по цвету или консистенции напоминает молоко, либо в нем присутствуют капли воды, это говорит о возможном повреждении прокладки головки цилиндров, либо образовании трещин в теле головки(ок) или блока. Проверка должна быть произведена без промедления. Во время измерения уровня масла всегда проверяйте также его состояние. Большим и указательным пальцами снимите с лезвия щупа следы масла, — в случае присутствия в нем мелких металлических частиц масло подлежит замене (см. Замена двигательного масла и масляного фильтра).

Охлаждающая жидкость двигателя

Не допускайте попадания антифриза на открытые участки тела и окрашенные поверхности автомобиля. Случайные брызги без промедления смывайте обильным количеством воды. Помните, что антифриз является в высшей степени токсичной жидкостью и попадание его внутрь организма даже в небольших количествах чревато самыми серьезными последствиями, вплоть до летального исхода. Никогда не оставляйте антифриз хранящимся в неплотно закрытой таре, без промедления собирайте пролитую на пол охлаждающую жидкость. Помните, что сладковатый запах антифриза может привлечь к себе внимание детей и животных. О способах утилизациях отработанной охлаждающей жидкости проконсультируйтесь с местными властями, -.во многих регионах мира обустроены специальные пункты по приему различного рода отработок. Ни в коем случае не сливайте старую охлаждающую жидкость в канализацию и на землю!


В последнее время были разработаны нетоксичные сорта антифриза, тем не менее, они также должны утилизироваться в организованном порядке.

Все описываемые в настоящем Руководстве модели автомобилей оборудованы системой охлаждения компенсационного типа, работающей при избыточном давлении. Изготовленный из полупрозрачной пластмассы расширительный бачок системы охлаждения расположен в переднем углу двигательного отсека вплотную к батарее (см. иллюстрации в начале Главы) и соединен переливным шлангом с основанием заливной горловины радиатора. При прогреве двигателя охлаждающая жидкость расширяется, и ее избыток перетекает через клапан, вмонтированный в крышку заливной горловины радиатора, в расширительный бачок. По мере остывания, жидкость возвращается по шлангу обратно в радиатор, что позволяет постоянно поддерживать в норме ее уровень в системе.

Ни в коем случае не снимайте крышку с заливной горловины радиатора/ расширительного бачка при горячем двигателе!


Уровень охлаждающей жидкости в расширительном бачке проверяется на регулярной основе и при холодном двигателе не должен опускаться ниже отметки KALT/COLD на стенке изготовленного из полупрозрачной пластмассы резервуара. В случае необходимости произведите соответствующую корректировку, долив в бачок требуемое количество свежей смеси.


Для корректировки уровня жидкости используйте только требуемого состава смесь этиленгликоля и дистиллированной воды (примерно 50/50). Помните, что частое применение для данной цели простой воды приводит к постепенному разжижению антифриза и утрачиванию смесью морозостойкости и антикоррозионных свойств. Не следует также злоупотреблять различного типа присадками.

Постоянное падение уровня охлаждающей жидкости обычно свидетельствует о развитии утечек в системе. Проверьте на наличие следов утечек радиатор, соединительные шланги, крышку заливной горловины, сливные пробки и корпус водяного насоса. Если никаких признаков утечек выявить не удается, следует произвести проверку крышки радиатора давлением в условиях мастерской автосервиса.

Ни в коем случае не снимайте крышку с радиатора/расширительного бачка при горячем двигателе!

При необходимости снятия крышки радиатора дождитесь полного остывания двигателя, затем обмотайте горловину толстым слоем ветоши и медленно отверните крышку до первого упора. Если при этом происходит выброс пара, дайте двигателю еще немного остыть, лишь после этого окончательно снимайте крышку.

Помимо уровня всегда проверяйте также состояние охлаждающей жидкости, - она должна быть относительно прозрачной. Если охлаждающая жидкость окрашена в красновато-коричневый цвет ржавчины, система охлаждения должна быть опорожнена, промыта и заправлена свежей смесью антифриза с водой. Даже если жидкость внешне не подвергается никаким изменениям, входящие в ее состав ингибиторы коррозии с течением времени подвергаются выработке, поэтому охлаждающая жидкость должна заменяться регулярно в соответствии с графиком текущего обслуживания автомобиля (см. График текущего обслуживания).

Старайтесь не допускать попадания антифриза на открытые участки кожи или окрашенные поверхности кузовных компонентов. Случайные брызги немедленно смывайте обильным количеством воды.

Жидкость для омывания ветрового стекла

Жидкость для омывания ветрового стекла заливается в специальный изготовленный из пластмассы резервуар, расположенный в левом переднем углу двигательного отсека между аккумуляторной батареей и расширительным бачком системы охлаждения (см. иллюстрации в начале Главы). В регионах с умеренным климатом в качестве жидкости для омывания стекла может использоваться чистая вода, однако не следует заполнять резервуар более чем на 2/3 с целью компенсации расширения воды при ее замерзании во время заморозков. При эксплуатации автомобиля в суровых климатических условиях использовать только патентованные стеклоочистители, обеспечивающие соответствующее снижение точки замерзания жидкости. Во избежание обмерзания стекла при омывании в холодную погоду предварительно прогревайте его путем обдува пропущенным через теплообменник отопителя воздухом.

Правила компоновки смеси обычно отпечатаны этикетке тары. Ни в коем случае не применяйте для добавления в жидкость омывания стекол используемый в системе охлаждения антифриз, - последний агрессивен по отношению к лакокрасочному покрытию кузовных панелей!

Электролит аккумуляторной батареи

Рассматриваемые в настоящем Руководстве автомобили укомплектованы не нуждающейся в обслуживании батареей герметичного типа, в корпусе которой предусмотрены лишь вентиляционные отверстия. Корпус батареи может быть изготовлен из полупрозрачной пластмассы, - в этом случае уровень электролита в ее банках может контролироваться с целью получения косвенной информации об исправности функционирования системы заряда и текущем состоянии батареи. Если в процессе эксплуатации транспортного средства батарея по какой-либо причине была заменена обычной (обслуживаемого типа), следует время от времени проверять уровень электролита в ее банках, для чего необходимо снять верхние контрольные/заливные пробки. Особенно внимательно следует следить за уровнем электролита в теплое время года. Для корректировки уровня электролита следует использовать только дистиллированную воду.

Гидравлическая жидкость тормозной системы и привода сцепления

Главный тормозной цилиндр (ГТЦ) закреплен на блоке сервопривода вакуумного усилителя тормозов (см. иллюстрации в начале Главы). Установленный сверху на ГТЦ резервуар используется в качестве резервного в гидравлических трактах привода как тормозных механизмов, так и сцепления (см. Главы Сцепление и приводные валы и Тормозная система).

Уровень жидкости внутри резервуаров ГТЦ и привода сцепления хорошо просматривается сквозь полупрозрачные стенки последних и должен поддерживаться между отметками MIN и МАХ, не доходя до верхней на 8—9 мм.

В случае необходимости корректировки уровня жидкости тщательно протрите крышку соответствующего резервуара и поверхность вокруг нее чистой ветошью во избежание попадания в гидравлическую систему грязи.

При заливании жидкости в резервуар следите за тем, чтобы она не разбрызгивалась на окружающие окрашенные поверхности кузовных элементов. Добавляйте в каждую из систем только жидкость оговоренного нормативными требованиями сорта (см. Спецификации), - смешивание двух жидкостей различного сорта ни в коем случае недопустимо и может привести к отказу соответствующей системы!

Тормозная жидкость в высшей степени химически агрессивна, - не допускайте попадания ее в глаза и на окрашенные поверхности кузовных панелей! Не используйте для добавления в систему гидравлическую жидкость, простоявшую более одного года, либо хранившуюся в неплотно закрытой таре. Помните, что тормозная жидкость является очень гигроскопичной, т.е. обладает способностью впитывать влагу из воздуха, в результате чего эффективность функционирования тормозной системы может опасно снижаться!

На этапе корректировки уровня следует также внимательно проверить состояние жидкости и внутренних стенок резервуара. В случае выявления грязевых отложений, твердых посторонних частиц или капель воды система должна быть опорожнена и заправлена свежей гидравлической жидкостью (см. Главы Сцепление и приводные валы и Тормозная система).

После того как резервуар будет заполнен до требуемого уровня, плотно посадите на него крышку.

Помните, что уровень гидравлической жидкости в резервуаре ГТЦ по мере срабатывания фрикционных накладок тормозных колодок постепенно опускается, однако это снижение всегда очень незначительно. Если жидкость приходится доливать слишком часто, следовательно, в системе имеет место утечка, источник которой должен быть без промедления выявлен, а причина устранена, - внимательно осмотрите все тормозные линии и их штуцерные соединения, включая суппорты, колесные цилиндры и сервопривод вакуумного усилителя (подробнее см. Проверка тормозной системы). Падение уровня жидкости в резервуаре гидропривода сцепления свидетельствует о развитии утечек в тракте, включая исполнительный цилиндр (см. Главу Сцепление и приводные валы).

Если в ходе проверки уровня жидкости в главных цилиндрах выявится тот факт, что его резервуар практически опустошен, соответствующая система должна быть полностью прокачана (см. Главы Сцепление и приводные валы или Тормозная система).

Жидкость системы гидроусиления руля


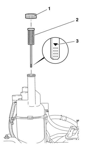
Проверка уровня гидравлической жидкости в резервуаре рулевого насоса TRW

1 — Оборудованная измерительным щупом резьбовая крышка

2 — Рабочий участок щупа
3 — Фильтр



Проверка уровня гидравлической жидкости в резервуаре рулевого насоса DELPHI

1 — Резьбовая крышка
2 — Оборудованный щупом фильтрующий элемент

3 — Рабочий участок щупа

Резервуар жидкости системы гидроусиления руля расположен в задней части двигательного отсека (см. иллюстрации в начале Главы).

Крышка резервуара оборудована встроенным измерительным щупом (см. иллюстрации Проверка уровня гидравлической жидкости в резервуаре рулевого насоса TRW или Проверка уровня гидравлической жидкости в резервуаре рулевого насоса DELPHI). Порядок проверки стандартный для всех измерений при помощи щупов.

Старайтесь не допускать выхода уровня жидкости за пределы нижней границы допустимого диапазона.

В случае необходимости произведите соответствующую корректировку уровня, долив в горловину резервуара гидравлическую жидкость требуемого сорта.

Если необходимость в корректировке уровня жидкости возникает регулярно и часто, проверьте на наличие признаков утечек рулевой насос, картер реечной передачи, а также все соединительные линии гидравлического тракта системы и их штуцерные соединения.

Трансмиссионное масло РКПП

 ПОРЯДОК ВЫПОЛНЕНИЯ

  1. Загоните автомобиль на эстакаду или смотровую яму, либо поддомкратьте и установите его на подпорки в строго горизонтальном положении. Проверка уровня трансмиссионного масла должна производиться перед поездкой, либо спустя не менее 5 минут после остановки двигателя, - масло должно успеть стечь в поддон картера РКПП.
  1. Тщательно протрите поверхность картера коробки вокруг контрольной пробки. На трансмиссиях F13, F17 и F18 пробка находится в левой части картера позади внутреннего ШРУСа приводного вала.

На трансмиссиях F23 — в задней части корпуса дифференциала.

  1. Проверка производится путем ввода в отверстие пальца, — масло должно доходить до нижнего среза отверстия.

    A — модели Astra
    B — модели Zafira

A.

B.
  1. Корректировка уровня масла производится через отверстие под установку датчика-выключателя огней заднего хода (F13, F17 и F18), либо через специальное заливное отверстие (F23), — выверните датчик/ пробку.

На коробках F13, F17 и F18 трансмиссионное масло заливается через отверстие под установку датчика-выключателя огней заднего хода, — отсоедините электропроводку (4) и выверните датчик (3)

  1. Продолжайте заливать масло до тех пор, пока оно не начнет вытекать через край контрольного отверстия, позвольте излишкам стечь, затем заглушите контрольное отверстие пробкой и затяните последнюю с требуемым усилием.
  2. Установите на место датчик-выключатель/ пробку заливного отверстия и затяните его/ ее с требуемым усилием.

Некоторые из коробок типа F23 имеют штатно повышенный уровень трансмиссионного масла, — после приведения уровня масла к нижнему срезу контрольного отверстия следует ввернуть пробку и долить в коробку еще около 0.5 л масла. Контрольные пробки коробок такого исполнения обычно маркируются желтой меткой.

ATF

Правильность уровня ATF является одним из критических эксплуатационных параметров моделей, оборудованных АТ. Чрезмерное падение уровня ATF может привести к пробуксовке преобразователя вращения, тогда как чрезмерное количество жидкости ведет к ее вспениванию, образованию утечек и чревато выходом трансмиссии из строя.

Проверка уровня ATF должна производиться при разогретой до нормальной рабочей температуры трансмиссии (15—20 км пробега, 72—80°С).

Не следует производить проверку уровня ATF сразу после эксплуатации автомобиля на высоких скоростях, в условиях городского цикла в жаркую погоду, либо после буксировки прицепа, - предварительно дайте жидкости остыть в течение около 30 минут!


 ПОРЯДОК ВЫПОЛНЕНИЯ

  1. Запаркуйте автомобиль на ровной горизонтальной площадке с твердым покрытием, прочно взведите стояночный тормоз. Если двигатель холодный, запустите его и прогрейте до нормальной рабочей температуры на холостых оборотах. При работающем двигателе выжмите педаль ножного тормоза и поочередно проведите рычаг селектора АТ через все положения, в заключение, вернув его в положение «Р».
  1. Не глуша двигатель, извлеките из направляющей трубки измерительный щуп. Пальцами снимите с лезвия щупа следы ATF и на ощупь оцените ее состояние.
  1. Тщательно протрите лезвие чистой ветошью и введите щуп обратно в направляющую трубку, плотно посадив крышку на горловину.
  1. Вновь извлеките щуп из горловины и по длине смоченного участка лезвия определите уровень ATF в картере трансмиссии. В случае необходимости произведите соответствующую корректировку, через воронку добавив в трансмиссию жидкость требуемого сорта, — заливайте ATF непосредственно в горловину направляющей трубки измерительного щупа, старайтесь не заливать в трансмиссию чрезмерное количество жидкости.

    А — Маркировка для проверки уровня ATF при рабочей температуре
    В — Маркировка для проверки уровня ATF при холодной трансмиссии

  1. Для подъема уровня ATF от нижней границы рабочего диапазона щупа до верхней требуется около 0.6 л жидкости — добавляйте ATF небольшими порциями в несколько приемов, каждый раз проверяя уровень.
  2. Одновременно с уровнем следует проверять также и состояние ATF. Если жидкость, смачивающая конец лезвия щупа имеет темный красно-коричневый оттенок, либо пахнет гарью, ATF следует заменить (см. Главу Автоматическая трансмиссия). При отсутствии уверенности в правильности оценки состояния трансмиссионной жидкости сравните ее по цвету и запаху со свежей ATF.

« предыдущая страница
3.3. Общие сведения о настройках и регулировках
^
к оглавлению
следующая страница »
3.5. Проверка состояния шин и давления их накачки, ротация колес

Copyright © 2026 Все права защищены. Все торговые марки являются собственностью их владельцев.