поиск в избранное карта сайта
  Daewoo РЕМОНТ ОБСЛУЖИВАНИЕ ЭКСПЛУАТАЦИЯ АВТОМОБИЛЕЙ
Дэу Нексия. Daewoo Nexia (с 1994 года выпуска)

полные технические характеристики. диагностика. электросхемы
 
Главная
 
Daewoo
Nexia
1. Панель приборов и органы управления
2. Техническое обслуживание
3. Двигатель (один верхний распределительный вал)
4. Двигатель (два верхних распределительных вала)
5. Система охлаждения
6. Топливная и выхлопная системы
7. Электрическое оборудование двигателя
8. Система зажигания
9. Электронный блок управления и датчики
10. Трансмиссия. Сцепление
10.1. Технические характеристики
10.2. Общее описание
10.3. Диагностика неисправностей
10.4. Трос привода сцепления
10.5. Педаль сцепления
10.6. Ведомый и нажимной диски, привод сцепления
10.7. Удаление воздуха из гидравлического привода сцепления
10.8. Главный цилиндр
10.9. Рабочий цилиндр сцепления
10.10. Основные неисправности сцепления, их причины и способы устранения
11. Пятиступенчатая коробка передач и главная передача RPO MM5
12. Автоматическая трансмиссия
13. Рулевое управление
14. Ходовая часть. Колеса и шины
15. Передняя подвеска
16. Привод передних колес
17. Задняя подвеска
18. Тормозная система
19. Кузов
20. Система отопления, вентиляции и кондиционирования воздуха
21. Электрооборудование
 


10.4. Трос привода сцепления

Измерение длины свободного наконечника троса

2. ЗАЖИМ
3. НАКОНЕЧНИК ТРОСА
4. ГАЙКА

Крепление наконечника троса к рычагу выключения сцепления

2. ЗАЖИМ
3. НАКОНЕЧНИК ТРОСА
4. ГАЙКА

Крепление педали сцепления

7. ШПЛИНТ
8. ГАЙКА
9. ШАЙБА
11. ОСЬ
12. ВОЗВРАТНАЯ ПРУЖИНА

Крепление троса к педали сцепления

3. HAKOHEЧНИK ТРОСА
12. ВОЗВРАТНАЯ ПРУЖИНА
14. ПЕДАЛЬ

Снять или отсоединить

ПОРЯДОК ВЫПОЛНЕНИЯ
1. Отрицательный провод аккумуляторной батареи.
2. Измерить cвободную длину резьбового наконечника троса. Записать результат измерения для использования в процессе предварительной регулировки нового троса.
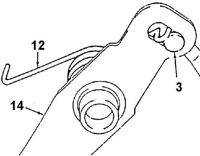
3. Наконечник троса 3 от рычага валика 1 выключения сцепления.
3а. Снять зажим 2.
3б. Отвернуть гайку 4.
4. Выключатель блокировки запуска двигателя.
5. Педаль сцепления.
5а. Возвратную пружину 12 из косынки 10.
5б. Шплинт 7.
5в. Гайку 8.
5г. Шайбу 9.
5д. Ось 11.
5е. Педаль 14.
6. Возвратную пружину 12 и наконечник троса из педали 14.
7. Трос привода, вытянув его из моторного отсека.

Установить или присоединить

ПОРЯДОК ВЫПОЛНЕНИЯ
1. Трос привода вставить из моторного отгона через передний щит кузова.
2. Надеть на наконечник троса втулку 5 и шайбу 6.
3. Прикрепить наконечник троса и возвратную пружину 12 к педали 14.
4. Установить педаль 14 между косынками 10.
5. Вставить в отверстия косынок 10 и педали 14 ось 1.
5а. Перед монтажом смазать ось консистентной смазкой с обозначением N1052349.
5б. Надеть шайбу 9.
5в. Навернуть гайку 8.
5г. Вставить шплинт 7.
5д. Вставить возвратную пружину 12 в косынку 10.
6. Выключатель блокировки запуска двигателя.
7. Наконечник 3 троса к рычагу валика 1 выключения сцепления.
8. Навернуть гайку 4 в положение, которое она занимала до демонтажа троса.
9. Отрегулировать трос привода.
10. Зажим 2.
11. Отрицательный провод батареи.

Отрегулировать

Измерение расстояния от педали сцепления до рулевого колеса


 


ПОРЯДОК ВЫПОЛНЕНИЯ
1. Измерить расстояние от середины накладки педали сцепления до обода рулевого колеса. Записать результат измерения.
2. Полностью нажать на педаль сцепления. Повторно измерить расстояние от середины накладки педали сцепления до обода рулевого колеса. Записать результат измерения.
3. Вычесть первый результат измерения из второго и определить ход педали сцепления.
Номинальная величина хода педали сцепления составляет 138–146 мм.
Если фактическая величина хода педали выходит за границы указанного диапазона, то следует снять зажим 2 и с помощью вращения гайки 4 в ту или иную сторону отрегулировать длину троса и величину хода педали.
После регулировки установить на место зажим 2.
Предупреждение

При правильной регулировке хода педаль сцепления должна располагаться выше тормозной педали. Свободный ход педали сцепления должен отсутствовать.

По мере износа накладок ведомого диска педаль сцепления поднимается выше.



« предыдущая страница
10.3. Диагностика неисправностей
^
к оглавлению
следующая страница »
10.5. Педаль сцепления

Copyright © 2026 Все права защищены. Все торговые марки являются собственностью их владельцев.