поиск в избранное карта сайта
  KIA РЕМОНТ ОБСЛУЖИВАНИЕ ЭКСПЛУАТАЦИЯ АВТОМОБИЛЕЙ
Киа Маджентис. KIA Magentis / Optima (с 2000 года выпуска)

полные технические характеристики. диагностика. электросхемы
 
Главная
 
KIA
Magentis / Optima
1. Двигатели
2. Система смазки
3. Система охлаждения
4. Контроль и снижение токсичности
5. Топливная система
6. Система зажигания
7. Сцепление
8. Коробка передач
9. Приводные валы, оси
10. Подвеска
11. Рулевое управление
12. Тормозная система
13. Кузов
14. Система кондиционирования
14.1. Технические данные
14.2. Обслуживание системы кондиционирования воздуха
14.3. Замечания при замене элементов системы кондиционирования воздуха
14.4. Соединение элементов системы кондиционирования воздуха
14.5. Соединение элементов с направляющим штифтом
14.6. Установка манометров для измерения давления
14.7. Откачка атмосферного воздуха из системы кондиционирования
14.8. Подсоединение выпускного клапана к баллону с хладагентом
14.9. Зарядка системы кондиционирования воздуха
14.10. Масло для смазки компрессора кондиционера
14.11. Проверка шлангов и трубок
14.12. Шум компрессора
14.13. Проверка и регулировка натяжения поликлиновых ремней
14.14. Проверка эксплуатационных характеристик
14.15. Датчик тройного давления
14.16. Проверка реле вентилятора конденсатора
14.17. Проверка включателя кондиционера
14.18. Проверка переключателя режимов
14.19. Проверка переключателя свежий / рециркулируемый воздух
14.20. Компрессор кондиционера
14.21. Втулка сцепления и шкив компрессора кондиционера
14.22. Катушка возбуждения сцепления
14.23. Вентилятор и конденсатор
14.24. Проверка двигателя вентилятора
14.25. Поиск и устранение неисправностей
14.26. Проверка реле системы кондиционирования воздуха и вентилятора конденсатора
14.27. Проверка реле вентилятора отопителя
15. Электрическое оборудование
16. Электрические схемы
 


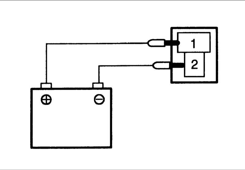
14.24. Проверка двигателя вентилятора

Дополнительными проводами подайте напряжение от аккумуляторной батареи к контактам и разъема двигателя вентилятора. Если двигатель вентилятора вращается, значит, он исправен.


« предыдущая страница
14.23. Вентилятор и конденсатор
^
к оглавлению
следующая страница »
14.25. Поиск и устранение неисправностей

Copyright © 2026 Все права защищены. Все торговые марки являются собственностью их владельцев.