поиск в избранное карта сайта
  Nissan РЕМОНТ ОБСЛУЖИВАНИЕ ЭКСПЛУАТАЦИЯ АВТОМОБИЛЕЙ
Ниссан Микра. Nissan Micra (с 2002 года выпуска)

полные технические характеристики. диагностика. электросхемы
 
Главная
 
Nissan
Micra
1. Введение
2. Органы управления и приемы эксплуатации
3. Настройки и текущее обслуживание автомобиля
4. Двигатель
5. Системы охлаждения двигателя, отопления, вентиляции и кондиционирования воздуха
6. Системы питания и выпуска отработавших газов
6.1. Система питания
6.1.1. Общие сведения и меры безопасности
6.1.2. Сбрасывание давления в системе питания
6.1.3. Принцип функционирования системы управления двигателем
6.1.4. Снятие и установка компонентов впускного воздушного тракта
6.1.5. Снятие и установка инжекторов топлива и топливной распределительной магистрали
6.1.6. Снятие и установка педали газа
6.1.7. Программирование опорных значений для системы управления двигателем
6.1.8. Снятие и установка сборки топливного насоса, топливного фильтра и датчика запаса топлива
6.1.9. Снятие и установка топливного бака
6.2. Системы выпуска и снижения токсичности отработавших газов
7. Системы электрооборудования двигателя
8. Ручная коробка переключения передач и сцепление
9. Автоматическая трансмиссия
10. Приводные валы, поворотные кулаки и ступичные сборки
11. Тормозная система
12. Подвеска и рулевое управление
13. Кузов
14. Бортовое электрооборудование
15. Схемы электрооборудования
 


6.1.5. Снятие и установка инжекторов топлива и топливной распределительной магистрали

Компоненты установки инжекторов и топливной распределительной магистрали

1 — Уплотнительное кольцо (коричневое)
2 — Фиксатор инжектора
3 — Уплотнительное кольцо (черное)
4 — Топливная распределительная магистраль

5 — Подающая топливная трубка
6 — Инжектор

 ПОРЯДОК ВЫПОЛНЕНИЯ

  1. Сбросьте давление в системе питания (см. Раздел Сбрасывание давления в системе питания).
  2. Снимите рукав воздухозаборника и сборку крышек воздухоочистителя (см. Раздел Снятие и установка компонентов впускного воздушного тракта).
  3. Снимите опорный кронштейн впускного трубопровода (см. Раздел Снятие и установка впускного трубопровода).
  4. Отсоедините от топливной распределительной магистрали топливный шланг и закупорьте его, чтобы предотвратить утечки топлива.
  5. Отсоедините электропроводку инжекторов и отведите ее в сторону. Если разъединение разъемов затруднено, это можно сделать после снятия сборки топливной распределительной магистрали и инжекторов с головки цилиндров.
  6. Выверните болты крепления топливной распределительной магистрали (сначала – болт, расположенный ближе к задней части двигателя) и снимите с головки цилиндров сборку распределительной магистрали и инжекторов.

Не допускайте, чтобы распылители инжекторов касались других частей.

  1. Снимите инжекторы с распределительной магистрали, предварительно вытянув фиксатор инжектора.

Снимайте инжекторы без перекоса, не повредите распылители. Не роняйте инжекторы, не разбирайте и не регулируйте.

  1. При установке уплотнительных колец инжекторов помните следующие вещи:
    • Верхнее и нижнее уплотнительные кольца отличаются друг от друга, устанавливайте их в соответствии с цветовой маркировкой: коричневые – со стороны распределительной магистрали, а черные – со стороны цилиндра;
    • Устанавливайте уплотнительные кольца голыми руками, не надевайте перчатки;
    • Перед установкой смазывайте уплотнительные кольца двигательным маслом;
    • Не очищайте уплотнительные кольца растворителями;
    • Уплотнительные кольца и сопрягаемые с ними поверхности должны быть чистыми от посторонних материалов;
    • Не поцарапайте уплотнительные кольца инструментами или ногтями, не скручивайте и не растягивайте кольца.
  1. Установите новый фиксатор (3) в соответствующий паз (2) на инжекторе (1). Скоба (5) фиксатора должна зайти на выступ (4) на инжекторе. Убедитесь, что фиксатор не касается уплотнительного кольца. В противном случае замените уплотнительное кольцо.
  1. Установите инжектор (1) ровно в распределительную магистраль (6). Вырез (8) на фиксаторе должен зайти в выступ (7) на распределительной магистрали, а фланец (10) должен надежно сидеть в канавке (9) фиксатора.
  2. Удостоверьтесь, что инжектор не вращается и не выходит из распределительной магистрали. Повторите процедуру, начиная с пункта 9 для остальных инжекторов.
  3. Установите сборку инжекторов и топливной распределительной магистрали на головку цилиндров, не допуска касания распылителей с другими частями, и затяните болты крепления сборки сначала с усилием 11.8 ÷ 13.8 Н•м, а затем – с усилием 20.8 ÷ 28.2 Н•м.

Сначала следует затягивать болт, ближний к передней части двигателя.

  1. Подсоедините к распределительной магистрали топливный шланг и надежно затяните его хомут.
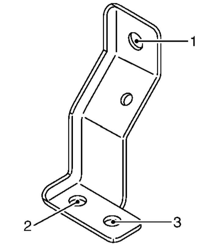
  1. Установите опорный кронштейн впускного трубопровода и затяните его крепежные болты в последовательности, указанной наиллюстрации, сначала от руки, а затем с усилием 6.9 ÷ 9.5 Н•м (болт №1) или 8.4 ÷ 10.8 Н•м (болты №2 и №3).
  1. Дальнейшая установка производится в последовательности, обратной порядку демонтажа компонентов.
  2. После установки включите зажигание (не запуская двигатель) после создания давления в системе питания удостоверьтесь в отсутствии утечек топлива. Затем запустите двигатель и снова проверьте топливные линии на наличие утечек.


« предыдущая страница
6.1.4. Снятие и установка компонентов впускного воздушного тракта
^
к оглавлению
следующая страница »
6.1.6. Снятие и установка педали газа

Copyright © 2026 Все права защищены. Все торговые марки являются собственностью их владельцев.