10.2.3.2. Подшипники коленвала, коленвал и блок цилиндров
 
 
 | 
*2) Нанесите герметик 99000-31250 на сопряженную поверхность поддона картера, обратившись к пункту 5 процедуры установки. | 
 
 
 
 
 | 
*6) Смажьте моторным маслом внутренние поверхности подшипника. 
 | 
 
 
 
 
 | 
*7)Установите сторону подшипника с канавками лицом к щекам коленвала. 
 | 
 
 
 
 
 | 
*17) Нанесите герметик 99000-31110 на сторону резьбы. 
 | 
 
 
 
 
 | 
Вращающий момент затяжки. 
 | 
 
 
 
 
 | 
 Не использовать повторно. 
 | 
 
 
 
 
 | 
Смазать моторным маслом. 
 | 
 
 
Снятие
 
| 
 | 
 
-  Снимите узел двигателя с транспортного средства, обратившись к Разделу 
Двигатель в этой Главе. 
 
-  Снимите сцепление и маховик (для транспортных средств М/Т) или ведущий диск (для транспортных средств А/Т). Для того чтобы снять сцепление обратитесь к Разделу 
Крышка сцепления, диск сцепления и маховик В Главе 
Сцепление. Специальный инструмент (А): 09924-17811. 
 
 
 
 | 
 1 — болт маховика 
 | 
 
 
-  Снимите корпус дроссельных заслонок, впускной коллектор, коллектор выхлопной системы. 
 
-  Снимите маслосборник и сетку масляного насоса, обратившись к Разделу 
Маслосборник и сетка масляного насоса в этой Главе, для того, чтобы снять. 
 
-  Снимите масляный насос. 
 
-  Снимите крышку головки цилиндра. 
 
-  Снимите крышку цепи синхронизации, обратившись к Разделу 
Крышка цепи синхронизации в этой Главе с целью демонтажа. 
 
-  Снимите направляющую цепи синхронизации, натяжитель цепи, регуляторы натяжителя, вторую цепь синхронизации и первую цепь синхронизации. 
 
-  Снимите узел головки цилиндра. 
 
- Снимите поршни и шатуны. 
 
-  Снимите датчик положения коленвала (1). 
 
 
 
 | 
1 — датчик положения коленвала 
  2 — блок цилиндра
                   
3 — коленвал 
 | 
 
 
 
 | 
-  Снимите водный насос (1) и выпускную трубу нагревателя. 
 
 
 | 
 
 
-  Снимите кронштейны бокового крепления двигателя (2) (правый и левый). 
 
-  Ослабьте болты картера  и снимите их. 
 
 
 
 | 
1 — поддон картера
                   2 — болт (диаметр резьбы 10 мм)
                   3 — болт (диаметр резьбы 8 мм) 
 | 
 
 
-  Снимите коленвал с блока цилиндров.  
 
 
 | 
  
 |  
 
 Проверка
 
 Коленвал 
 
 Износ коленвала 
 
 
 | 
 С помощью циферблатного индикатора измерьте износ на шейке в центре. Медленно вращайте коленвал. Если износ превышает предельные нормы, замените коленвал. Предел износа коленвала: 0.06 мм (0.0023 дюйма). 
 | 
 
 
 Зазор упорного подшипника коленвала 
 
| 
 | 
 
 
 | 
-  Измерьте этот зазор, когда коленвал находится в обычном порядке в блоке цилиндров, т.е. когда упорный подшипник и поддон картера (1) на своем месте. Закрутите болты картера, обратившись к п. 6 процедуры установки. 
 
 
 | 
 
 
-  Используйте циферблатный измеритель, для того чтобы снять показания отклонения в осевом направлении коленвала. Если отклонение выходит за пределы норм, замените упорный подшипник на новый стандартного размера или большего размера, для того чтобы получить стандартный зазор.
                     
 
-  Зазор упорного подшипника коленвала
                         
-  норма: 0.10 – 0.35 мм (0.0040 – 0.0137 дюйма) 
 
-  предел: 0.42 мм (0.0165 дюйма)
  
   
Толщина упорного подшипника коленвала 
 
| 
  Размер подшипника 
 
 | 
  Толщина 
 
 | 
 
| 
  Стандартный 
 
 | 
  2.500 мм (0.984 дюйма) 
 
 | 
 
| 
  Большего размера (0.125 мм (0.0049 дюйма)) 
 
 | 
  2.563 мм (0.1009 дюйма) 
 
 | 
 
 
 
 
 | 
1 — упорный подшипник 
                   2 — смазочная канавка 
 | 
 
 
 | 
  
 |  
 
Эллипсность и уклон (неравномерный износ) шеек коленвала 
 
 
 | 
 О неравномерном износе шейки коленвала говорит разница в диаметре поперечного сечения или вдоль ее длины (или и то, и другое). Эта разница, если таковая есть, определяется по показаниям микромера. Если одна из шеек сильно повреждена или если общий неравномерный износ так, как это было объяснено выше, выходит за пределы нормы, переточите или замените коленвала.
       
-  Предел эллипсности и уклон шейки коленвала: 0.01 мм (0.0004 дюйма) 
 
-  эллипсность: А – В 
 
-  уклон: а – b
           
  
 
 | 
 
 
 Коренные подшипники 
 
 Общая информация 
 
 Коренные подшипники коленвала для ремонта представлены стандартным размером и размером меньше стандартного на 0.25 мм (0.0098 дюйма), и каждый из них представлен 5 типами подшипников, отличающихся друг от друга допуском. 
 
 
 | 
 Верхняя половина подшипника (1) имеет смазочную канавку (2). Установите эту половину со смазочной канавкой в блок цилиндров. 
 | 
 
 
 На нижней половине подшипника смазочная канавка отсутствует. 
 
 Проверка 
 
 Проверьте подшипники на предмет изъязвления, царапин, износа или повреждения. Если обнаружены какие-либо дефекты, замените обе верхнюю и нижнюю половинки. Никогда не заменяйте одну половинку, не заменив другую половинку. 
 
 Зазор коренного подшипника коленвала 
 
| 
 | 
 
-  Проверьте зазор с помощью гипсового раствора, выполнив следующую процедуру. 
 
-  Снимите поддон картера. 
 
-  Почистите подшипники и шейки коленвала. 
 
 
 
 | 
-  Положите часть гипсового раствора (1) на полную ширину подшипника (параллельно коленвалу) на шейку, обходя масляные отверстия. 
 
 
 | 
 
 
-  Установите поддон картера (1) на блок цилиндров. Прикрутите болты картера, соблюдая последовательност. Прикрутите болты картера с указанным вращающим моментом. 
 
-  Вращающий момент затяжки:
                     
-  Болт картера с 10-мм резьбой в диаметре (0.394 дюйма) (а): 60 Н•м (6.0 кг-м, 43.5 фунт на фут) 
 
-  Болт картера с 8-мм резьбой в диаметре (0.315 дюйма) (b): 27 Н•м (2.7 кг-м, 19.5 фунт на фут) 
 
 
   
 
 | 
 Не поворачивайте коленвал с гипсовым раствором внутри. 
  | 
 
 
 
 
 | 
1 — поддон картера 
  2 — болт (диаметр резьбы 10 мм)
                   
3 — болт (диаметр резьбы 8 мм) 
 | 
 
 
 
 | 
-  Снимите поддон картера и с помощью линейки (2) измерьте ширину на гипсовом покрытии (1) в самой широкой точке. Если зазор выходит за пределы нормы, замените подшипник. Всегда заменяйте верхнюю и нижнюю половины, как единое целое. Новый стандартный подшипник может создать необходимый зазор. Если этого не произошло, придется переточить шейку коленвала, для того чтобы можно было использовать подшипник меньшего размера 0.25 мм (0.00984 дюйма). Выбрав новый подшипник, проверьте зазор повторно. 
 
 
 | 
 
 
  
    -  Зазор подшипника коленвала
        
          -  норма: 0.032 – 0.052 мм (0.0013 – 0.0020 дюйма) 
 
          -  предел: 0.060 мм (0.0023 дюйма) 
 
         
     
   
 
 | 
  
 |  
 
 Выбор коренных подшипников коленвала 
 
 Стандартный подшипник 
 
 
 | 
- Если подшипник в неисправном состоянии или если зазор подшипника выходит за пределы нормы, выберите новый стандартный подшипник в соответствии со следующей процедурой, и установите его. 
 
-  При замене коленвала или блока цилиндров и поддона картера по какой-либо причине выберите новые стандартные подшипники, для того чтобы установить их согласно номерам, напечатанным на новом коленвале, и/или буквам, напечатанным на новом поддоне картера. 
 
 
 | 
 
 
 
| 
 | 
 
-  Сначала проверьте диаметр шейки. Как показано на рисунке, на щеках коленвала №2 (3) напечатаны цифры. Три типа цифр («1», «2» и «3») представляют собой следующие диаметры шеек. 
 
 
 Технические характеристики шеек коленвала 
 
| 
  Напечатанные цифры 
 
 | 
  Диаметр шеек 
 
 | 
 
| 
  1 
 
 | 
  58.000 – 58.0060 мм (2.2835 – 2.2836 дюйма) 
 
 | 
 
| 
  2 
 
 | 
  57.9940 – 57.9999 мм (2.2833 – 2.2834 дюйма) 
 
 | 
 
| 
  3 
 
 | 
  57.9880 – 57.9939 мм (2.2830 – 2.2832 дюйма) 
 
 | 
 
 
-  Цифры, напечатанные на щеке №2 коленвала, обозначают диаметры шеек, отмеченные стрелочкой на рисунке, соответственно. Например, напечатанная цифра «1» указывает на то, что диаметр соответствующей шейки составляет 58.000 – 58.0060 мм (2.2835 – 2.2836 дюйма). 
 
 
 
 | 
1 — сторона шкива коленвала 
                   2 — сторона маховика  
3 — щека коленвала | 
 
 
-  Далее проверьте внутренний диаметр картера (крышка подшипника) без подшипника. На поддоне картера напечатано пять букв. Три буквы («А», «В» и «С») обозначают следующие внутренние диаметры крышек. 
 
 
 Технические характеристики внутренних диаметров крышек подшипников коленвала 
 
| 
  Напечатанные буквы 
 
 | 
  Внутренний диаметр крышек подшипников (без подшипников) 
 
 | 
 
| 
  А 
 
 | 
  62.0000 – 62.0060 мм (2.4409 – 2.4411 дюйма) 
 
 | 
 
| 
  В 
 
 | 
  62.0061 – 62.0120 мм (2.4412 – 2.4414 дюйма) 
 
 | 
 
| 
  С 
 
 | 
  62.0121 – 62.0180 мм (2.4415 – 2.4416 дюйма) 
 
 | 
 
 
-  Буквы, напечатанные на поддоне картера, указывают на внутренний диаметр картера, отмеченного стрелкой на рисунке, соответственно. Например, буква «А», напечатанная на крышке подшипника №2, указывает на то, что внутренний диаметр крышки подшипника №2 составляет 62.0000 – 62.0060 мм (2.4409 – 2.4411 дюйма). 
 
 
 
 | 
1 — крышка подшипника №1
                   2 — крышка подшипника №2 
                   3 — крышка подшипника №3 
                   4 — крышка подшипника №4 
                   5 — крышка подшипника №5 
                   6 — сторона шкива коленвала 
                   7 — сторона маховика 
 | 
 
 
-  Есть пять типов стандартных подшипников, отличающихся друг от друга по толщине. Для того чтобы их можно было отличать, они окрашены в следующие цвета в месте, показанном на рисунке. Каждый цвет обозначает определенную толщину в центре подшипника. 
 
 
 Технические характеристики подшипников коленвала 
 
| 
  Цвет 
 
 | 
  Толщина подшипника 
 
 | 
 
| 
  Зеленый 
 
 | 
  1.990 – 1.994 мм (0.07835 – 0.07850 дюйма) 
 
 | 
 
| 
  Черный 
 
 | 
  1.993 – 1.997 мм (0.07847 – 0.07862 дюйма) 
 
 | 
 
| 
  Бесцветный (нет краски) 
 
 | 
  2.996 – 2.000 мм (0.07859 – 0.07874 дюйма) 
 
 | 
 
| 
  Желтый 
 
 | 
  1.999 – 2.003 мм (0.07870 – 0.07885 дюйма) 
 
 | 
 
| 
  Голубой 
 
 | 
  2.002 – 2.006 мм (0.07882 – 0.07897 дюйма) 
 
 | 
 
 
 
 
 | 
 1 — краска 
 | 
 
 
-  По цифре, напечатанной на щеке коленвала №2 и буквам, напечатанным на поддоне картера, определите новый стандартный подшипник, который должен быть установлен на шейку, обратившись к таблице, приведенной ниже. Например, если цифра, напечатанная на щеке коленвала №2 «1», и буква, напечатанная на поддоне картера, – «В», устанавливайте новый стандартный подшипник, окрашенный в «Черный» цвет на его шейку. 
 
 
 Технические характеристики нового подшипника коленвала стандартного размера 
 
| 
 
 
 | 
  Цифра, напечатанная на щеке коленвала 
 
 (диаметр шейки) 
 
 | 
 
| 
  1 
 
 | 
  2 
 
 | 
  3 
 
 | 
 
| 
  Буква, напечатанная на поддоне картера (внутренний диаметр крышки подшипника) 
 
 | 
  А 
 
 | 
  Зеленый 
 
 | 
  Черный 
 
 | 
  Бесцветный 
 
 | 
 
| 
  В 
 
 | 
  Черный 
 
 | 
  Бесцветный 
 
 | 
  Желтый 
 
 | 
 
| 
  С 
 
 | 
  Бесцветный 
 
 | 
  Желтый 
 
 | 
  Голубой 
 
 | 
 
| 
 
 
 | 
 
 
 | 
  Установить новый подшипник стандартного размера 
 
 | 
 
 
-  Проверьте зазор подшипника при новом выбранном подшипнике стандартного размера, обратившись к подразделу 
  Коренные подшипники коленвала в этом Разделе. Если зазор все еще выходит за пределы нормы, используйте подшипник следующего по толщине размера и перепроверьте зазор. 
 
 
 | 
  
 |  
 
 Подшипник меньшего размера (0.25 мм (0.009842 дюйма))
 
 Подшипник меньшего размера на 0.25 мм (0.009842 дюйма) представлен пятью типами, отличающимися друг от друга по толщине. Для того чтобы их можно было отличать, каждый подшипник окрашен в следующие цвета в месте, указанном на рисунке. Каждый цвет представляет определенную толщину в центре подшипника. 
 
 Толщина подшипников меньшего размера коленвала 
 
| 
  Цвет 
 
 | 
  Толщина подшипника 
 
 | 
 
| 
  Зеленый и красный 
 
 | 
  2.115 – 2.119 мм (0.08327 – 0.08342 дюйма) 
 
 | 
 
| 
  Черный и красный 
 
 | 
  2.118 – 2.122 мм (0.08339 – 0.08354 дюйма) 
 
 | 
 
| 
  Только красный 
 
 | 
  2.121 – 2.125 мм (0.08351 – 0.08366 дюйма) 
 
 | 
 
| 
  Желтый и красный 
 
 | 
  2.124 – 2.128 мм (0.08363 – 0.08377 дюйма) 
 
 | 
 
| 
  Голубой и красный 
 
 | 
  2.127 – 2.131 мм (0.08374 – 0.08413 дюйма) 
 
 | 
 
 
 
 
 | 
 1  —  краска 
 | 
 
 
Если необходимо, переточите шейку коленвала и выберите для нее подшипник меньшего размера следующим образом. 
 
| 
 | 
 
-  Переточите шейку до следующего завершенного диаметра. Завершенный диаметр шейки коленвала: 57.7439 – 57.7560 мм (2.2734 – 2.2738 дюйма). 
 
 
 
 | 
-  С помощью микромера измерьте переточенный диаметр шейки. Показания измерения должны сниматься в двух направлениях перпендикулярно друг другу, для того чтобы проверить эллипсность. 
 
 
 | 
 
 
-  С помощью диаметра шейки, измеренного выше, и букв, напечатанных на поддоне картера, выберите подшипник меньшего размера, обратившись к таблице, приведенной ниже. Проверьте зазор подшипника с новым выбранным подшипником меньшего размера. 
 
 
 Технические характеристики подшипника коленвала меньшего размера 
 
| 
 | 
  Измеренный диаметр шейки 
 
 | 
 
| 
  57.7500 – 57.7560 мм (2.2737 – 2.2738 дюйма) 
 
 | 
  57.7440 – 57.7499 мм (2.2734 – 2.2736 дюйма) 
 
 | 
  57.7380 – 57.7439 мм (2.2732 – 2.2733 дюйма) 
 
 | 
 
| 
 Буквы, напечатанные на поддоне картера 
 
 | 
  А 
 
 | 
  Зеленый и красный 
 
 | 
  Черный и красный 
 
 | 
  Только красный 
 
 | 
 
| 
  В 
 
 | 
  Черный и красный 
 
 | 
  Только красный 
 
 | 
  Желтый и красный 
 
 | 
 
| 
  С 
 
 | 
  Только красный 
 
 | 
  Желтый и красный 
 
 | 
  Голубой и красный 
 
 | 
 
| 
 | 
  Подшипники меньшего размера к установке 
 
 | 
 
 
 | 
  
 |  
 
 Звездочка масляного насоса 
 
 
 | 
 Проверьте зубцы звездочки (2) на предмет износа или повреждения. Если обнаружено какое-либо повреждение или износ, замените коленвал (1). 
 | 
 
 
 Цепь привода масляного насоса 
 
 
 | 
 Проверьте цепь привода масляного насоса на предмет износа или повреждения. 
 | 
 
 
 Заднее масляное уплотнение 
 
 
 | 
 Внимательно проверьте заднее масляное уплотнение на предмет износа или повреждения. Если его кромка изношена или повреждена, замените его. 
 | 
 
 
 Маховик 
 
| 
 | 
 
-  Если зубчатый венец поврежден, треснут или изношен, замените маховик. 
 
-  Если поверхность, контактирующая с диском сцепления, повреждена или сильно изношена, замените маховик. 
 
 
 
 | 
-  Проверьте маховик на предмет износа лицевой поверхности с помощью циферблатного индикатора. Если износ превышает допустимые нормы, замените маховик. Предел износа маховика: 0.2 мм (0.0078 дюйма). 
 
 
 | 
 
 
 | 
  
 |  
 
 Блок цилиндров 
 
 Деформация уплотненной поверхности 
 
 
 | 
 С помощью калибромера проверьте уплотненную поверхность на предмет деформации и, если планшетность превышает допустимые нормы, исправьте ее. Предел деформации блока цилиндров: 0.06 мм (0.0024 дюйма). 
 | 
 
 
 Хонингование или расточка цилиндров 
 
| 
 | 
 
-  Если требуется расточить один из цилиндров, все другие цилиндры должны быть также расточены в одно и тоже время. Подберите поршень большего размера в соответствии с общим износом цилиндра. 
 
 
 Диаметр поршня 
 
| 
  Размер 
 
 | 
  Диаметр поршня 
 
 | 
 
| 
  Стандартный 
 
 | 
  83.970 – 83.990 мм (3.3059 – 3.3066 дюйма) 
 
 | 
 
| 
  Размер больше на 0.50 мм (0.02 дюйма) 
 
 | 
  84.470 – 84.480 мм (3.3256 – 3.3263 дюйма) 
 
 | 
 
 
-  С помощью микромера измерьте диаметр поршня. 
 
-  Рассчитайте, какой внутренний диаметр цилиндра необходимо расточить, следующим образом:
                     
-  D = А   В – С 
 
-  D: Внутренний диаметр цилиндра, который необходимо выточить. 
 
-  А: Измеренный диаметр поршня. 
 
-  В: Зазор поршня = 0.02 – 0.04 мм (0.0008 – 0.0015 дюйма) 
 
-  С: Допуск для хонингования = 0.02 мм (0.0008 дюйма) 
 
 
   
 
 | 
 1 — 26.5 мм (1.04 дюйма) 
 | 
 
 
-  Расточите и хонингуйте цилиндр до расчетных параметров. 
 
 
 
 | 
 Прежде чем растачивать, установите поддон картера и прикрутите в соответствии с техническими требованиями, для того чтобы избежать деформации внутренних диаметров подшипников. 
  | 
 
 
-  Измерьте зазор поршня после хонингования.  
 
 
 | 
  
 |  
 
 Стопорный клапан 
 
 
 | 
 Проверьте стопорный клапан на наличие засора и образования застрявших комков. 
 | 
 
 
 Установка 
 
 
 | 
- Все части монтажа должны быть идеально вымыты. 
 
- Не забудьте смазать шейки коленвала, опорные подшипники, упорные подшипники, шатунные шейки, подшипники шатуна, поршни, поршневые кольца и стволы цилиндров. 
 
- Опорные подшипники, картер (крышки подшипников), шатуны, подшипники шатунов, крышки подшипников шатунов, поршни и поршневые кольца объединены в отдельные наборы. Не разъединяйте такие наборы и обеспечьте при установке, чтобы каждая деталь вернулась туда, откуда она пришла. 
 
- Почистите сопряженную поверхность блока цилиндров и поддона картера, удалите масло, старый герметик и пыль с сопряженной поверхности. 
 
 
 | 
 
 
 
| 
 | 
 
-  Установите коренные подшипники коленвала (4) в блок цилиндров (1). Одна из двух половинок подшипника коленвала имеет масляную канавку (3). Установите эту половину с масляной канавкой в блок цилиндров, а другую половинку без масляной канавки в поддон картера. Убедитесь в том, что обе половинки отмечены одной и той же краской. 
 
-  Установите кольцевое уплотнение (2) в блок цилиндров. 
 
 
 
 | 
 1 — блок цилиндров   
  2 — кольцевое уплотнение 
  3 —   масляная канавка 
  4 —   подшипники коленвала   
  5 — штифт 
 | 
 
 
 
 | 
-  Установите упорные подшипники (1) в блок цилиндров между №2 и №3 цилиндрами. Стороны с масляной канавкой (2) поверните лицевой поверхностью к щекам коленвала. 
 
 
 | 
 
 
 
 | 
-  Поместите коленвал (1) с цепью привода масляного насоса в блок цилиндров. Убедитесь в том, что на пластине датчика положения коленвала (2) нет металлических частиц и повреждения. 
 
 
 | 
 
 
-  Нанесите герметик «А» на сопряженную поверхность поддона картера (1). «А»: герметик 99000-31250.
 
 
 
 | 
«а» — 3 мм (0.12 дюйма) 
                   «b» — 2 мм (0.08 дюйма) 
                   
1 — поверхность поддона картера 
2 — подшипник 
 | 
 
 
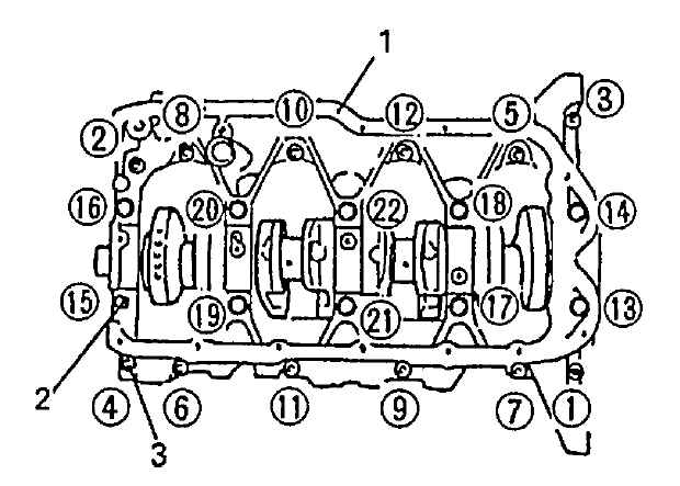
-  Установите поддон картера (1) в блок цилиндра. Смазав моторным маслом все болты картера ((1) – (22)), прикрутите их постепенно, следующим образом. 
 
 
 
 | 
-  Затяните болты (1) – (10) до 42 Н•м (4.2 кг-м, 30.5 фунт на фут) в соответствии с цифровым порядком. 
 
 
 | 
 
 
-  Ослабьте болты (1) – (10) до тех пор, пока вращающий момент затяжки не снизится до 0 (нуля) в порядке обратном прикручиванию. 
 
-  Точно также, как в пункте 7, прикрутите их до 42 Н•м (4.2 кг-м, 30.5 фунт на фут). 
 
-  Точно так же, как в пункте 
  7, прикрутите их с указанным вращающим моментом. 
 
-  Прикрутите болты (11) – (22) с указанным вращающим моментом в соответствии с их цифровым порядком.
 
-  Вращающий момент затяжки:
                   
-  Болт картера с резьбой 10 мм в диаметре (1) – (10)
                       
-  (а): 60 Н•м (6.0 кг-м, 43.5 фунт на фут) 
 
-  (b): 27 Н•м (2.7 кг-м, 19.5 фунт на фут) 
 
 
  
   
 
 | 
 Прикрутив болты картера, убедитесь в том, что коленвал вращается плавно, когда его поворачиваешь рукой. 
  | 
 
 
-  Установите заднее масляное уплотнение (1) с помощью пластикового молотка и специальных инструментов. 
 
-  Специальный инструмент
                     
-  (А): 09911-97710 
 
-  (В): 09911-97811 
 
 
   
 
 | 
1 — заднее масляное уплотнение 
                   2 — сторона коленвала 
                   3 — сторона масляного уплотнения 
 | 
 
 
-  Установите датчик положения коленвала (1) и закрепите его жгуты проводов кронштейном. Вращающий момент затяжки: болт датчика положения коленвала (а): 6 Н•м (0.6 кг-м, 4.5 фунт на фут).
 
 
 
 | 
1 — датчик положения коленвала 
  2 — блок цилиндра 
                   
3 — коленвал 
 | 
 
 
 
 | 
-  Установите маховик (для транспортных средств М/Т) или ведущий диск (для транспортных средств А/Т). С помощью специального инструмента зафиксируйте маховик или ведущий диск и, смазав герметиком, прикрутите болты маховика или ведущего диска (1) в соответствии с техническими требованиями.
                     
 
-  «А»: герметик 99000-31110
                         
  
-  специальный инструмент (А): 09924-17811 
 
 
 
-  вращающий момент затяжки:
                         
  
-  болт маховика или ведущего диска (с): 70 Н•м (7.0 кг-м, 51.0 фунт на фут) 
                       
  
   
 | 
 
 
 
 | 
-  Установите кронштейны бокового крепления двигателя (1) (правый и левый). Прикрутите болты кронштейнов с указанным вращающим моментом. Вращающий момент затяжки: болт кронштейна бокового крепления двигателя (d) — 55 Н•м (5.5 кг-м, 40.0 фунт на фут). 
 
 
 | 
 
 
-  Установите водяной насос (2) и выпускную трубу нагревателя (3), обратившись к Разделам 
Водяной насос и 
Шланги или водные трубы системы охлаждения в Главе 
Охлаждение двигателя. 
 
-  Установите поршни и шатуны, обратившись к Разделу 
Поршни, поршневые кольца, шатуны и цилиндры в этой Главе. 
 
-  Установите масляный насос, обратившись к Разделу 
Масляный  насос
 в этой Главе. 
 
-  Установите узел головки цилиндра в блок цилиндра, обратившись к Разделу 
Клапаны и головка блока цилиндра в этой Главе. 
 
-  Установите цепи синхронизации, натяжитель цепи синхронизации, направляющую цепи синхронизации, звездочки цепи синхронизации, крышку цепи синхронизации, шкив коленвала, шкив водяного насоса и т.д. Обратитесь к Разделу 
Первая цепь синхронизации и натяжитель цепи в этой Главе. 
 
- Установите сетку масляного насоса и маслосборник. 
 
-  Установите сцепление на маховик (для транспортных средств М/Т). Обратитесь к Разделу 
Крышка сцепления, диск сцепления и маховик в Главе 
Сцепление, для того, чтобы установить сцепление. 
 
-  Установите узел двигателя в транспортное средство, обратившись к Разделу 
Двигатель в этой Главе.  
 
 
 | 
  
 |  
 
 
		 
	 |