поиск... в избранное карта сайта
  Daewoo РЕМОНТ ОБСЛУЖИВАНИЕ ЭКСПЛУАТАЦИЯ АВТОМОБИЛЕЙ
Дэу Нексия. Daewoo Nexia (с 1994 года выпуска)

полные технические характеристики. диагностика. электросхемы
 
Главная
 
Daewoo
Nexia
1. Панель приборов и органы управления
2. Техническое обслуживание
3. Двигатель (один верхний распределительный вал)
4. Двигатель (два верхних распределительных вала)
5. Система охлаждения
6. Топливная и выхлопная системы
7. Электрическое оборудование двигателя
8. Система зажигания
9. Электронный блок управления и датчики
10. Трансмиссия. Сцепление
11. Пятиступенчатая коробка передач и главная передача RPO MM5
12. Автоматическая трансмиссия
13. Рулевое управление
14. Ходовая часть. Колеса и шины
15. Передняя подвеска
16. Привод передних колес
17. Задняя подвеска
18. Тормозная система
19. Кузов
20. Система отопления, вентиляции и кондиционирования воздуха
20.1. Общая информация
20.2. Система кондиционирования воздуха
20.3. Диагностика неисправностей
20.4. Особенности кондиционера
20.5. Работа системы кондиционирования воздуха
20.6. Управление системой кондиционирования воздуха
20.7. Реле и выключатели
20.8. Диагностика неисправностей
20.9. Техническое обслуживание
20.10. Снятие и установка узлов системы кондиционирования воздуха
20.11. Компрессор V-5 - описание работы
21. Электрооборудование
 


20.11. Компрессор V-5 - описание работы

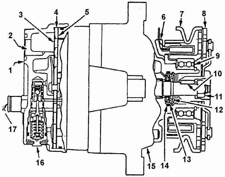
Компрессор V-5 – продольный разрез

1. ЗАДНЯЯ КРЫШКА КОМПРЕССОРА
2. ВХОДНОЕ ОТВЕРСТИЕ
3. ПРОКЛАДКА ЗАДНЕЙ КРЫШКИ
4. РАСПРЕДЕЛИТЕЛЬНАЯ ПЛАСТИНА
5. КЛАПАННАЯ ПЛАСТИНА С ЛЕПЕСТКОВЫМИ КЛАПАНАМИ
6. КАТУШКА ЭЛЕКТРОМАГНИТА СЦЕПЛЕНИЯ
7. ШКИВ
8. ВЕДОМЫЙ ДИСК СЦЕПЛЕНИЯ
9. ПОДШИПНИК ШКИВА
10. ШПОНКА КРЕПЛЕНИЯ СТУПИЦЫ НА ВАЛУ
11. ГАЙКА
12. СТОПОРНОЕ КОЛЬЦО УПЛОТНЕНИЯ
13. КРОМОЧНОЕ УПЛОТНЕНИЕ
14. УПЛОТНИТЕЛЬНОЕ КОЛЬЦО
15. КАРТЕР
16. КЛАПАН УПРАВЛЕНИЯ КОМПРЕССОРОМ
17. РЕДУКЦИОННЫЙ КЛАПАН

Устройство компрессора V-5

1. ЗАДНЯЯ КРЫШКА КОМПРЕССОРА
2. ВХОДНОЕ ОТВЕРСТИЕ (НЕ ПОКАЗАНО)
3. ПРОКЛАДКА ЗАДНЕЙ КРЫШКИ
4. РАСПРЕДЕЛИТЕЛЬНАЯ ПЛАСТИНА
5. КЛАПАННАЯ ПЛАСТИНА С ЛЕПЕСТКОВЫМИ КЛАПАНАМИ
6. КАТУШКА ЭЛЕКТРОМАГНИТА СЦЕПЛЕНИЯ
7. ШКИВ (НЕ ПОКАЗАН)
8. ВЕДОМЫЙ ДИСК СЦЕПЛЕНИЯ
9. ПОДШИПНИК ШКИВА
10. ШПОНКА КРЕПЛЕНИЯ СТУПИЦЫ НА ВАЛУ
11. ГАЙКА
12. СТОПОРНОЕ КОЛЬЦО УПЛОТНЕНИЯ
13. КРОМОЧНОЕ УПЛОТНЕНИЕ
14. УПЛОТНИТЕЛЬНОЕ КОЛЬЦО
15. КАРТЕР
16. КЛАПАН УПРАВЛЕНИЯ КОМПРЕССОРОМ
17. РЕДУКЦИОННЫЙ КЛАПАН
18. СТОПОРНОЕ КОЛЬЦО ПОДШИПНИКА
19. ШКИВ С ВЕДУЩИМ ДИСКОМ СЦЕПЛЕНИЯ
20. СТЯЖНОЙ БОЛТ
21. ПРОКЛАДКА
22. УПЛОТНИТЕЛЬНОЕ КОЛЬЦО МЕЖДУ КАРТЕРОМ И БЛОКОМ ЦИЛИНДРОВ
23. БЛОК ЦИЛИНДРОВ С ВАЛОМ И НАКЛОННОЙ ШАЙБОЙ В СБОРЕ
24. УПЛОТНИТЕЛЬНОЕ КОЛЬЦО МЕЖДУ ЗАДНЕЙ КРЫШКОЙ И БЛОКОМ ЦИЛИНДРОВ
25. РАСПОРНАЯ ВТУЛКА
26. КОЛЬЦО УПОРНОГО ПОДШИПНИКА
27. УПОРНЫЙ ПОДШИПНИК
28. ВЫКЛЮЧАТЕЛИ ВЕНТИЛЯТОРА И НИЗКОГО ДАВЛЕНИЯ
29. ПРОБКА СЛИВНОГО ОТВЕРСТИЯ
30. ШПОНОЧНАЯ КАНАВКА
31. ВАЛ
32. УПЛОТНИТЕЛЬНОЕ КОЛЬЦО РЕДУКЦИОННОГО КЛАПАНА
33. УПЛОТНИТЕЛЬНЫЕ КОЛЬЦА ВЫКЛЮЧАТЕЛЕЙ ВЕНТИЛЯТОРА И НИЗКОГО ДАВЛЕНИЯ
34. УПЛОТНИТЕЛЬНОЕ КОЛЬЦО КЛАПАНА УПРАВЛЕНИЯ
35. СТОПОРНОЕ КОЛЬЦО

Компрессор V-5 с регулируемым рабочим объемом предназначен для автомобильных систем KB и обеспечивает требуемую производительность в любых условиях эксплуатации и нагрузках без периодических выключении и включений. Основу компрессора составляет поршневая машина с наклонным диском и пятью аксиально расположенными цилиндрами. Регулятор рабочего объема состоит из клапана с сильфонным чувствительным устройством, который расположен в задней крышке компрессора. Клапан реагирует на давление в полости всасывания компрессора. Угол наклона подвижного диска и рабочий объем компрессора зависят от разности давлений в картере компрессора и полости всасывания. Когда требуется большая производительность компрессора, давление на всасывании превосходит контрольное значение и клапан находится в открытом положении. При этом полость картера компрессора соединена с полостью всасывания и давление в них одинаково. Наклонный диск устанавливается в положение максимальной производительности компрессора. При уменьшении потребной производительности компрессора и достижении давления на всасывании контрольного значения клапан открывает доступ вытесняемому газу в полость картера компрессора и отсоединяет ее от полости всасывания. Равновесный угол наклона подвижного диска устанавливается под действием сил, действующих на поршни. Небольшое увеличение разности давлений в картере компрессора и в полости всасывания приводит к появлению равнодействующей силы поршней, которая поворачивает диск в сторону уменьшения производительности компрессора.

Компрессор имеет оригинальную систему смазки. Дренаж внутренней полости картера компрессора осуществляется во всасывающую полость через вращающийся наклонный диск для смазки его подшипников. Вращающийся наклонный диск одновременно действует как сепаратор масла, отделяя масло от газа и поддерживая в картере нормальный рабочий уровень масла. В картере может находиться до 120 мл холодильного масла. Поэтому важно после демонтажа компрессора с автомобиля полностью слить масло через сливное отверстие и измерить объем масла, которое находилось в агрегате. После этого масло можно вылить.

В каждый компрессор, поставляемый в качестве запасных частей, залито 240 мл холодильного масла. Это масло должно быть слито и объем его измерен. Новый компрессор должен быть заправлен свежим маслом в количестве, которое равно объему слитого из старого компрессора масла. (Объем слитого масла должен быть записан).


« предыдущая страница
20.10.3. Компрессор
^
к оглавлению
следующая страница »
21. Электрооборудование

Copyright © 2026 Все права защищены. Все торговые марки являются собственностью их владельцев.