поиск в избранное карта сайта
  Mercedes-Benz РЕМОНТ ОБСЛУЖИВАНИЕ ЭКСПЛУАТАЦИЯ АВТОМОБИЛЕЙ
Мерседес-Бенц 203. Mercedes-Benz C-класс (W203, с 2000 года выпуска)

полные технические характеристики. диагностика. электросхемы
 
Главная
 
Mercedes-Benz
C-класс (W203)
1. Введение
2. Руководство по эксплуатации
3. Текущее обслуживание
4. Двигатель
5. Системы охлаждения и отопления
5.1. Система охлаждения
5.1.1. Антифриз - средство защиты от замерзания
5.1.2. Замена охлаждающей жидкости - общие замечания
5.1.3. Снятие и замена шлангов системы охлаждения
5.1.4. Снятие и установка термостата
5.1.5. Проверка термостата
5.1.6. Проверка системы охлаждения под давлением
5.1.7. Снятие и установка насоса охлаждающей жидкости
5.1.8. Снятие и установка вентилятора
5.1.9. Снятие и установка радиатора
5.2. Системы вентиляции, отопления и кондиционирования воздуха
6. Системы питания и выпуска
7. Электрооборудование двигателя
8. Ручная коробка передач
9. Автоматическая трансмиссия
10. Сцепление и приводные валы
11. Тормозная система
12. Подвеска и рулевое управление
13. Кузов
14. Бортовое электрооборудование
 


5.1.5. Проверка термостата

 


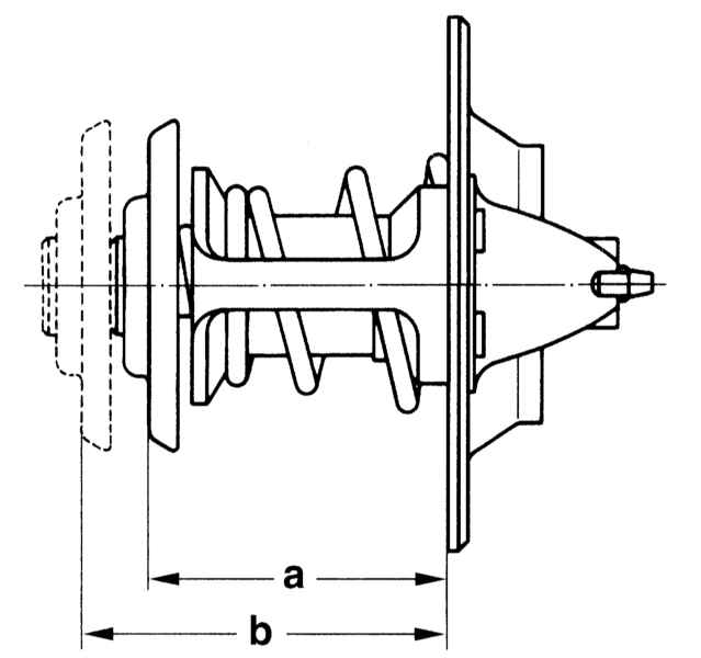
Термостат при прогреве двигателя включает в работу большой контур охлаждения.

При этом термостат непрерывно расширяется, от размера «а» до размера «b».

 ПОРЯДОК ВЫПОЛНЕНИЯ

1. Перед тем, как снимать и проверять работоспособность термостата, убедитесь в том, что проблемы с охлаждением двигателя возникли не вследствие недостаточного количества охлаждающей жидкости или слабого натяжения приводного ремня. Убедитесь в исправности индикатора, расположенного на приборной доске.
2. Если Вы заметили, что двигатель долго прогревается до рабочей температуры (согласно показаниям индикатора), термостат, возможно, заклинен в открытом положении. В этом случае термостат следует заменить.
3. С другой стороны, долгий прогрев может быть следствием отсутствия термостата. Это могли сделать специально или непреднамеренно (забыли установить после ремонта). Не используйте автомобиль без термостата. Система управления двигателем будет держать двигатель в режиме прогрева более долгое время. В течение этого времени двигатель будет потреблять большее количество топлива, а отработавшие газы будут содержать большее количество вредных примесей.
4. Если двигатель перегревается, потрогайте верхний шланг радиатора. Если он не горячий, а двигатель перегрет, термостат, возможно, заклинило в закрытом положении. Жидкость не попадает в радиатор и циркулирует по малому кругу. В этом случае замените термостат.
5. Если верхний шланг радиатора горячий, это значит, что термостат открыт и жидкость нормально циркулирует по системе. В этом случае ознакомьтесь с рекомендациями, приведенными в разделе «Диагностика неисправностей» Введения.


Проверка

 ПОРЯДОК ВЫПОЛНЕНИЯ

1. Снимите корпус термостата.

2. Проверьте положение термостата через присоединительный патрубок в корпусе. Измерьте размер «а» на термостате.

3. Если термостат при комнатной температуре находится в открытом состоянии — он неисправен и подлежит замене.
4. Для грубой проверки работоспособности термостата подвесьте его корпус на куске шпагата в сосуде с водой. Корпус термостата не должен касаться стенок сосуда. Начинайте нагревать сосуд.
5. По мере нагревания воды термостат должен открываться (это происходит непосредственно перед кипением воды). Поскольку температура кипения воды 100°С, термостат может не открыться полностью (обратитесь к Спецификациям). Извлеките термостат и дайте ему остыть. По мере остывания он должен полностью закрыться.
6. Если термостат не открывается при нагревании или не закрывается при охлаждении, замените его.
7. При установке термостата имейте в виду следующее:

a) Тщательно очистите сопрягаемые поверхности и замените уплотнительное кольцо.
b) Поместите термостат в кожух, правильно сориентировав.
c) Затяните болты крепления крышки, приложив требуемое усилие.
d) Установите все шланги на прежние места, после чего залейте охлаждающую жидкость (обратитесь к Главе Текущее обслуживание).
e) Запустите двигатель, прогрейте до рабочей температуры и убедитесь в отсутствии утечек.


« предыдущая страница
5.1.4. Снятие и установка термостата
^
к оглавлению
следующая страница »
5.1.6. Проверка системы охлаждения под давлением

Copyright © 2026 Все права защищены. Все торговые марки являются собственностью их владельцев.