поиск в избранное карта сайта
  Subaru РЕМОНТ ОБСЛУЖИВАНИЕ ЭКСПЛУАТАЦИЯ АВТОМОБИЛЕЙ
Субару Форестер. Subaru Forester (с 1997 года выпуска)

полные технические характеристики. диагностика. электросхемы
 
Главная
 
Subaru
Forester
1. Введение
2. Инструкция по эксплуатации
3. Текущее обслуживание
4. Двигатель
5. Системы охлаждения, отопления
6. Системы питания и выпуска
7. Электрооборудование двигателя
8. Системы управления двигателем
8.1. Спецификации
8.2. Система бортовой диагностики (OBD) - принцип функционирования и коды неисправностей. Сигналы в цепях управления
8.3. ЕСМ - общая информация, оценка состояния и замена
8.4. Информационные датчики, реле и исполнительные устройства - общая информация
8.5. Система улавливания топливных испарений (EVAP)
8.6. Система рециркуляции отработавших газов (EGR)
8.7. Система управляемой вентиляции картера (PCV)
8.8. Кондуктор заливной горловины топливного бака
8.9. Каталитический преобразователь - общая информация, проверка состояния и замена
9. Коробка переключения передач
10. Сцепление, трансмиссионная линия
11. Тормозная система
12. Подвеска и рулевое управление
13. Кузов
14. Бортовое электрооборудование
 


8.5. Система улавливания топливных испарений (EVAP)

Общая информация

Система EVAP аккумулирует скапливающиеся в системе питания за время стоянки автомобиля топливные испарения и обеспечивает вывод их во впускной тракт для сжигания в процессе нормального функционирования двигателя.

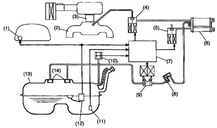
Схема функционирования системы улавливания топливных испарений (EVAP)


1  —   Измеритель расхода топлива
2  —   Впускной трубопровод
3  —   Корпус дросселя
4  —   Электромагнитный клапан продувки адсорбера
5  —   Электромагнитный клапан управления вентиляцией
6  —   Угольный адсорбер
7  —   ECM

8  —   Перекидной клапан
9  —   Электромагнитный клапан контроля давления
10  —   Датчик давления в топливном баке
11  —   Датчик температуры топлива
12  —   Датчик уровня топлива
13  —   Топливный бак
14  —   Запорный клапан


Усовершенствование системы производится непрерывно по мере ужесточения требований предъявляемых к защите окружающей среды.

В состав системы входят угольный адсорбер, электромагнитный клапан управления продувкой адсорбера, запорный клапан, соединительные линии и пр.

Скапливающиеся в баке топливные испарения выводятся в угольный адсорбер по испарительным линиям. Запорный клапан встроен в топливные линии.

Управление функционированием клапана продувки адсорбера осуществляет ECM, выбирая наиболее оптимальный для продувки момент, исходя из рабочих параметров двигателя, а также информации, поставляемой датчиками температуры и расхода топлива.

Электромагнитный клапан управления давлением включен в испарительную линию топливного бака и служит для контроля давления/разрежения в баке на основании сигналов, выдаваемых на ECM установленным в баке датчиком давления.

Запорный топливный клапан

На полноприводных моделях запорный клапан встроен непосредственно в испарительную трубку крышки топливного бака. Подъем уровня топлива в баке приводит к запиранию отверстия в крышке, оставляя ему единственный выход через испарительную трубку в угольный адсорбер.

Конструкция запорного топливного клапана


Крышка заливной горловины топливного бака

Встроенный в крышку заливной горловины предохранительный клапан служит для предотвращения образования в баке чрезмерно глубокого разрежения вследствие нарушения проходимости испарительных линий.

В нормальных условиях крышка закрывает горловину абсолютно герметично за счет резинового уплотнения, прижимаемого по всему периметру горловины, а также благодаря тому, что клапан (А) остается плотно прижатым пружиной к своему седлу.

Конструкция предохранительного клапана крышки заливной горловины топливного бака


При возрастании глубины разрежения в баке атмосферное давление отжимает пружину вниз, что приводит к открыванию клапана. В результате давление выравнивается за счет того, что внутрь бака проникает наружный воздух.

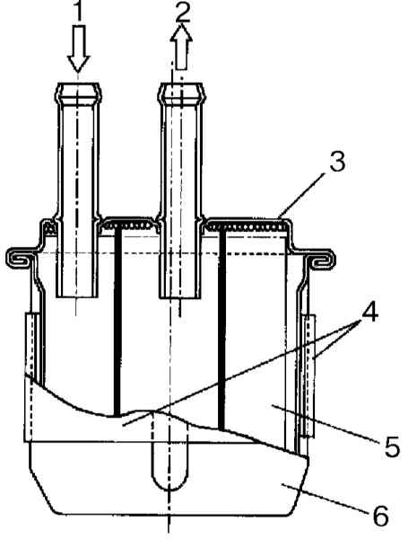
Угольный адсорбер

Общая информация

Угольный адсорбер заполнен активированным углем и служит для временной аккумуляции топливных испарений и продувается по сигналу ECM при открывании специального электромагнитного клапана (см. ниже). Из адсорбера топливные испарения поступают в во впускной трубопровод и сжигаются в процессе нормального функционирования двигателя.

Конструкция угольного адсорбера

1  —   Воздух
2  —   Пружина
3  —   От топливного бака
4  —   К электромагнитному клапану продувки
5  —   Решетка
6  —   Фильтр
7  —   Угольный наполнитель
8  —   Фильтр

 


Снятие и установка

 ПОРЯДОК ВЫПОЛНЕНИЯ

1. Поддомкратьте автомобиль и установите его на подпорки.
2. Отпустите фиксатор и отсоедините от сборки угольного адсорбера испарительные линии.
3. Отдайте крепежные гайки и снимите адсорбер с кузовного элемента.

Установка производится в обратном порядке. Проследите, чтобы крепеж был затянут с требуемым усилием (23 ± 7 Нм).

Электромагнитный клапан управления продувкой угольного адсорбера

Общая информация

Клапан включен в испарительную линию, соединяющую адсорбер с корпусом дросселя, со стороны впускного трубопровода. Управление продувкой осуществляет ECM, основываясь на информации о текущих эксплуатационных параметрах (температура охлаждающей жидкости, обороты двигателя, скорость движения, и т.п.). Продувка производится при запущенном двигателе, за исключением определенных условий, таких например, как работа на холостых оборотах.


Снятие и установка

Если установленная на автомобиле стереосистема оборудована охранным кодом, прежде чем отсоединять батарею удостоверьтесь в том, что располагаете правильной комбинацией для ввода аудиосистемы в действие!


 ПОРЯДОК ВЫПОЛНЕНИЯ

1. Отсоедините отрицательный провод от батареи.
2. Снимите нагнетательную камеру воздушного тракта в сборе с воздухозаборником (см. Раздел Регулятор давления топлива - общие сведения Главы Системы питания и выпуска).
3. Выверните болт крепления электромагнитного клапана продувки адсорбера к впускному трубопроводу.
4. Снимите сборку электромагнитного клапана, отсоедините от нее электропроводку и вакуумные шланги.

Установка производится в обратном порядке. Проследите, чтобы крепеж был затянут с требуемым усилием (15.7 ± 1.5 Нм).

Двухходовый клапан

Двухходовой клапан включен в испарительную линию, соединяющую угольный адсорбер с топливным баком.

Конструкция двухходового клапана

1  —   К угольному адсорберу
2  —   Корпус
3  —   Седло
4  —   Крышка
5  —   Жиклер
6  —   От топливного бака
7  —   Клапан
8  —   Пружина

 


Когда давление в баке превышает некоторое установленное значение, развиваемое пружиной усилие, преодолевается и клапан открывается, при этом находящиеся в баке под давлением испарения отводятся в адсорбер, где аккумулируются в порах наполнителя.

При опускании давления клапан закрывается, однако воздух, проникающий в систему через входной порт адсорбера, продолжает проникать в бак через маленькое отверстие в торце клапана, предотвращая образование чрезмерного разрежения.

Электромагнитный клапан управления давлением

Клапан включен в испарительную линию, соединяющую топливный бак с угольным адсорбером и позволяет ECM осуществлять контроль давления внутри бака.

Конструкция клапана управления давлением


1  —   К угольному адсорберу
2  —   Плунжер
3  —   Корпус
4  —   Пружина
5  —   Клемма контактного разъема

 


При работающем двигателе ECM по сигналу от помещенного внутрь бака датчика отслеживает давление в баке. При превышении этим давлением некоторого предельного значения модуль управления выдает специальную команду на перемещение плунжера внутри рассматриваемого клапана, осуществляя тем самым сброс давления.

При заглушенном двигателе клапан работает как обычный двухходовой клапан (см. выше).

Электромагнитный клапан управления вентиляцией

Вентиляционный клапан установлен во впускном порту адсорбера, соединяющим его внутреннюю емкость с атмосферой.

Конструкция электромагнитного клапана управления вентиляцией

1  —   Движущийся сердечник
2  —   Обойма
3  —   Уплотнительное кольцо
4  —   Сердечник статора
5  —   Воздух
6  —   Пружина

7  —   Клапан
8   —  К угольному адсорберу
9   —  Уплотнительная прокладка
10  —   Вал
11  —   Обмотка


В нормальном состоянии клапан открыт и наружный воздух свободно проникает в адсорбер. При выявлении признаков утечки топливных испарений в атмосферу ECM выдает сигнал на закрывание клапана, при этом его шток перемещается вправо, перекрывая входной порт адсорбера.

Воздушный фильтр

Топливный фильтр установлен во впускном порту электромагнитного клапана управления вентиляцией адсорбера и служит для очистки всасываемого внутрь последнего воздуха.

Конструкция воздушного фильтра

1  —   Вход
2  —   Выход
3  —   Крышка
4  —   Кронштейн
5  —   Фильтрующий элемент
6  —   Кожух

 


« предыдущая страница
8.4. Информационные датчики, реле и исполнительные устройства - общая информация
^
к оглавлению
следующая страница »
8.6. Система рециркуляции отработавших газов (EGR)

Copyright © 2026 Все права защищены. Все торговые марки являются собственностью их владельцев.