поиск в избранное карта сайта
  Toyota РЕМОНТ ОБСЛУЖИВАНИЕ ЭКСПЛУАТАЦИЯ АВТОМОБИЛЕЙ
Тойота Королла Версо. Toyota Corolla Verso (с 2004 года выпуска)

полные технические характеристики. диагностика. электросхемы
 
Главная
 
Toyota
Corolla Verso
1. Эксплуатация и техническое обслуживание автомобиля
2. Двигатель
2.1. Общие сведения (двигатели 1ZZ-FE И 3ZZ-FE)
2.2. Общие сведения (двигатель 1СD-FTV)
2.3. Предварительные проверки (двигатели 1ZZ-FE И 3ZZ-FE)
2.4. Механическая часть (двигатели 1ZZ-FE И 3ZZ-FE)
2.5. Предварительные проверки (двигатель 1CD-FTV)
2.6. Механическая часть (двигатель 1CD-FTV)
2.7. Система охлаждения
2.8. Система выпуска (двигатель 1СD-FTV)
2.9. Система смазки
2.10. Топливная система
2.11. Система управления и система снижения токсичности
2.11.1. Проверки без снятия с автомобиля (1ZZ-FE / 3ZZ-FE)
2.11.2. Проверки без снятия с автомобиля (1CD-FTV)
2.11.3. Замена масляного клапана управления механизмом изменения фаз газораспределения в сборе (1ZZ-FE / 3ZZ-FE)
2.11.4. Замена массовый расходомер воздуха (1ZZ-FE / 3ZZ-FE)
2.11.5. Замена датчика температуры охлаждающей жидкости (1ZZ-FE / 3ZZ-FE)
2.11.6. Замена датчика детонации (1ZZ-FE / 3ZZ-FE)
2.11.7. Замена педали акселератора в сборе (1ZZ-FE / 3ZZ-FE)
2.11.8. Замена ЭБУ двигателя (1ZZ-FE / 3ZZ-FE)
2.11.9. Снятие и установка корпуса дроссельной заслоники (1CD-FTV)
2.11.10. Замена массового расходомера воздуха (1CD-FTV)
2.11.11. Замена датчика температуры охлаждающей жидкости (1CD-FTV)
2.11.12. Замена датчика температуры воздуха на впуске в дизельном двигателе (1CD-FTV)
2.11.13. Снятие датчика температуры воздуха на впуске в дизельном двигателе
2.11.14. Замена датчика угла поворота распределительного вала (1CD-FTV)
2.11.15. Замена ЭБУ двигателя (1CD-FTV)
2.11.16. Система снижения токсичности отработавших газов (1ZZ-FE / 3ZZ-FE)
2.11.17. Система снижения токсичности отработавших газов (1CD-FTV)
2.11.18. Замена подогреваемого кислородного датчика (1ZZ-FE / 3ZZ-FE)
2.11.19. Замена клапана системы вентиляции картера (1ZZ-FE / 3ZZ-FE)
2.11.20. Замена электровакуумного клапана №1 (1ZZ-FE / 3ZZ-FE)
2.11.21. Замена угольного адсорбера(1ZZ-FE / 3ZZ-FE)
2.11.22. Проверка системы РОГ (1CD-FTV)
2.11.23. Замена клапана РОГ (1CD-FTV)
2.12. Система зажигания
2.13. Система выпуска
2.14. Таблицы
3. Трансмиссия
4. Ходовая часть
5. Рулевой механизм
6. Тормозная система
7. Бортовое электрооборудование
8. Кузов
9. Схемы электрооборудования
 


2.11.2. Проверки без снятия с автомобиля (1CD-FTV)

Проверка массового расходомера воздуха (с использованием портативного диагностического прибора II)
Проверьте работу узла.
Подключите портативный диагностический прибор II к диагностическому разъему DLC3.
Включите зажигание ON (IG) и включите портативный диагностический прибор II.
Выберете режим прибора: Powertrain/ Engine and ECT/ Data List/ MAF.

Подача воздуха
Рис. 2.549. Подача воздуха


Подайте воздух в массовый расходомер, затем проверьте, изменяется ли величина MAF в списке данных (рис. 2.549).
Выключите зажигание (OFF) и выключите портативный диагностический прибор II.
Отсоедините портативный диагностический прибор II.
Если работа не соответствует нормальному состоянию, проверьте массовый расходомер воздуха, электропроводку и ЭБУ двигателя.

Проверка воздушной заслонки (при использовании портативного диагностического прибора II)
Проверьте работу узла (датчик положения дроссельной заслонки).
Подключите портативный диагностический прибор II к диагностическому разъему DLC3.
Включите зажигание ON (IG) и включите портативный диагностический прибор II.
Выберете режим прибора: Powertrain/ Engine and ECT/ Data List/ Accel Open SW.
Датчик положения дроссельной заслонки: Вкл. (ON)
Выключите зажигание (OFF) и выключите портативный диагностический прибор II.
Отсоедините портативный диагностический прибор II.
Если результат не соответствует нормальному состоянию, проверьте датчик положения педали акселератора, жгут проводов и ЭБУ двигателя.
Проверьте напряжение (датчик положения дроссельной заслонки).
Проверьте датчик положения дроссельной заслонки с помощью осциллографа.

Проверка напряжения с помощью осциллографа
Рис. 2.550. Проверка напряжения с помощью осциллографа


На холостом ходу проверьте форму кривой напряжения между клеммами E7 и Е6 ЭБУ двигателя (рис. 2.550).

Условия проверки

Если результат не соответствует нормальному состоянию, проверьте датчик положения педали акселератора, жгут проводов и ЭБУ двигателя.
После проверки выполните пробную поездку.
Выполните дорожное испытание и убедитесь в отсутствии неисправностей.

Проверка датчика положения педали акселератора (с использованием портативного диагностического прибора II)
Проверьте датчик положения педали акселератора.
Подключите портативный диагностический прибор II к диагностическому разъему DLC3.
Включите зажигание ON (IG) и включите портативный диагностический прибор II.
Выберете режим прибора: Powertrain/ Engine and ECT/ Data List/ Accel Position.
Убедитесь, что относительная величина положения педали акселератора (Accel Position) в списке данных соответствует номинальной.

Условия проверки

Выключите зажигание (OFF) и выключите портативный диагностический прибор II.
Отсоедините портативный диагностический прибор II.
Если результат не соответствует нормальному состоянию, проверьте датчик положения педали акселератора, жгут проводов и ЭБУ двигателя.

Проверка массового расходомера воздуха
Проверьте работоспособность.
Подайте напряжение аккумуляторной батареи на клеммы 1 (+B) и 2 (E2G).

Проверка работы массового расходомера воздуха
Рис. 2.551. Проверка работы массового расходомера воздуха


Подсоедините положительный (+) щуп вольтметра к клемме 3 (VG), а отрицательный (–) щуп – к клемме 2 (E2G) (рис. 2.551).
Подайте воздух в массовый расходомер, затем проверьте, изменяется ли напряжение.
Если напряжение не изменяется, замените массовый расходомер воздуха.
Проверьте сопротивление.

Проверка сопротивления расходомера воздуха
Рис. 2.552. Проверка сопротивления расходомера воздуха


Омметром измерьте сопротивление между клеммами (рис. 2.552).

Условия проверки

Если результат не соответствует нормальному состоянию, замените массовый расходомер воздуха.

Проверка дроссельной заслонки в сборе
Проверьте сопротивление (электродвигатель привода дроссельной заслонки).

Выводы разъема
Рис. 2.553. Выводы разъема


Омметром измерьте сопротивление между клеммами (рис. 2.553).

Условия проверки

Если сопротивление не соответствует номинальному, замените корпус дроссельной заслонки в сборе.

Проверка датчика температуры охлаждающей жидкости двигателя
Проверьте сопротивление.

Проверка сопротивления датчика температуры охлаждающей жидкости двигателя
Рис. 2.554. Проверка сопротивления датчика температуры охлаждающей жидкости двигателя


Омметром измерьте сопротивление между клеммами (рис. 2.554).

Условия проверки

ПРИМЕЧАНИЕ
При проверке датчика температуры охлаждающей жидкости двигателя в воде, не допускайте попадания воды на клеммы. После проверки необходимо удалить воду с датчика.
Если результат не соответствует нормальному состоянию, замените датчик температуры охлаждающей жидкости двигателя.

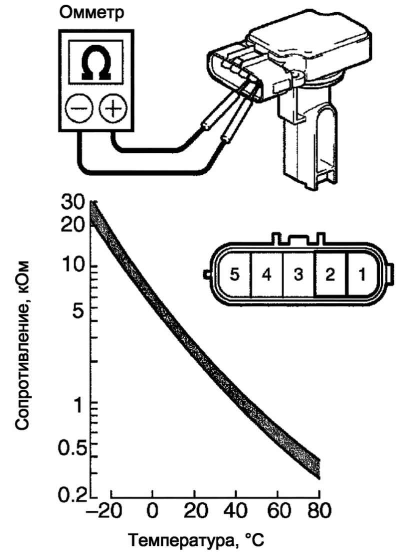
Проверка датчика температуры топлива
Проверьте сопротивление.

Выводы разъема
Рис. 2.555. Выводы разъема


Омметром измерьте сопротивление между клеммами (рис. 2.555).

Условия проверки

Если сопротивление не соответствует нормальному состоянию, замените датчик температуры топлива.

Проверка датчика температуры воздуха на впуске
Проверьте сопротивление.

Проверка сопротивления датчика температуры воздуха на впуске
Рис. 2.556. Проверка сопротивления датчика температуры воздуха на впуске


Омметром измерьте сопротивление между клеммами (рис. 2.556).

Условия проверки

Если сопротивление не соответствует нормальному состоянию, замените датчик температуры воздуха на впуске.

Проверка датчика угла поворота распределительного вала
Проверьте сопротивление.

Выводы разъема
Рис. 2.557. Выводы разъема


Омметром измерьте сопротивление между клеммами (рис. 2.557).

Условия проверки

ПРИМЕЧАНИЕ
Вышеприведенные обозначения «Cold» и «Hot» относятся к температуре катушек датчиков. Состояние «Cold» (холодный двигатель) соответствует температуре от –10°C до 50°C; «Hot» (прогретый двигатель) – от 50°C до 100°C. Если сопротивление не соответствует нормальному состоянию, замените датчик угла поворота распределительного вала.

Проверка датчика угла поворота коленчатого вала
Проверьте сопротивление.

Выводы разъема
Рис. 2.558. Выводы разъема


Омметром измерьте сопротивление между клеммами (рис. 2.558).

Условия проверки

ПРИМЕЧАНИЕ
Вышеприведенные обозначения «Cold» и «Hot» относятся к температуре катушек датчиков. Состояние «Cold» (холодный двигатель) соответствует температуре от –10 °C до 50 °C; «Hot» (прогретый двигатель) – от 50 °C до 100 °C. Если сопротивление не соответствует нормальному состоянию, заменить датчик угла поворота коленчатого вала.

Проверка реле EDU
Проверьте сопротивление.

Выводы разъема и схема проверки
Рис. 2.559. Выводы разъема и схема проверки


Омметром измерьте сопротивление между клеммами (рис. 2.559).

Условия проверки

Если результат не соответствует нормальному состоянию, реле EDU замените.

Проверка главное реле EFI
Проверьте сопротивление.

Выводы разъема и схема проверки
Рис. 2.560. Выводы разъема и схема проверки


Омметром измерьте сопротивление между клеммами (рис. 2.560).

Условия проверки

Если результат не соответствует нормальному состоянию, главное реле EFI замените.

Проверка педали акселератора в сборе
Проверьте датчик положения педали акселератора.

Выводы разъема
Рис. 2.561. Выводы разъема


Омметром измерьте сопротивление между клеммами (рис. 2.561).

Условия проверки

Если сопротивление не соответствует нормальному состоянию, педаль акселератора замените.

« предыдущая страница
2.11.1. Проверки без снятия с автомобиля (1ZZ-FE / 3ZZ-FE)
^
к оглавлению
следующая страница »
2.11.3. Замена масляного клапана управления механизмом изменения фаз газораспределения в сборе (1ZZ-FE / 3ZZ-FE)

Copyright © 2026 Все права защищены. Все торговые марки являются собственностью их владельцев.