поиск в избранное карта сайта
  Mercedes-Benz РЕМОНТ ОБСЛУЖИВАНИЕ ЭКСПЛУАТАЦИЯ АВТОМОБИЛЕЙ
Мерседес-Бенц 203. Mercedes-Benz C-класс (W203, с 2000 года выпуска)

полные технические характеристики. диагностика. электросхемы
 
Главная
 
Mercedes-Benz
C-класс (W203)
1. Введение
2. Руководство по эксплуатации
3. Текущее обслуживание
4. Двигатель
5. Системы охлаждения и отопления
6. Системы питания и выпуска
7. Электрооборудование двигателя
8. Ручная коробка передач
9. Автоматическая трансмиссия
10. Сцепление и приводные валы
11. Тормозная система
12. Подвеска и рулевое управление
13. Кузов
13.1. Уход и наружное оборудование кузова
13.2. Оборудование салона
13.2.1. Замечания по проведению работ с оборудованием салона и меры безопасности
13.2.2. Снятие и установка разжимного зажима
13.2.3. Снятие и установка крышки под панелью приборов
13.2.4. Снятие и установка нижней части панели приборов
13.2.5. Снятие и установка вещевого ящика
13.2.6. Снятие и установка крышки под вещевым ящиком
13.2.7. Снятие и установка центральной консоли
13.2.8. Снятие и установка крышки верхней части центральной консоли
13.2.9. Снятие и установка внутреннего зеркала
13.2.10. Снятие и установка облицовки в грузовом отсеке
13.2.11. Снятие и установка переднего сиденья
13.2.12. Снятие и установка заднего сиденья
13.2.13. Снятие и установка полки
13.2.14. Снятие и установка облицовки стоек А и В
13.2.15. Снятие и установка облицовки стойки C
14. Бортовое электрооборудование
 


13.2.4. Снятие и установка нижней части панели приборов

Снятие

 ПОРЯДОК ВЫПОЛНЕНИЯ

1. Снимите центральную консоль, обратитесь к соответствующему разделу.
2. Снимите крышку верхней части центральной консоли, обратитесь к соответствующему разделу.
3. Снимите радиоприёмник или навигационный прибор, обратитесь к Разделу Снятие и установка радиоприёмника.
4. Отверните винты крепления крышки под панелью приборов и откиньте крышку, обратитесь к соответствующему разделу.
5. Снимите крышку блока предохранителей, обратитесь к Разделу Реле и предохранители.
6. Снимите левую группу выключателей, обратитесь к Разделу Снятие и установка группы выключателей слева от пульта управления.

7. Выверните 2 винта снизу.

8. Выверните винты крепления вверху слева и у центральной консоли.

9. С помощью пластмассового клина отсоедините из держателей нижнюю часть панели приборов .
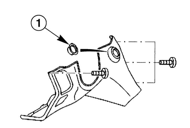
10. С помощью кулачкового ключа 210 589 00 07 00 фирмы MERCEDES отсоедините розетку (1) выключателя зажигания и отсоедините блок управления запуском от нижней части панели приборов.
11. Отсоедините трос у рукоятки освобождения стояночного тормоза и снимите нижнюю часть панели приборов.


Установка

 ПОРЯДОК ВЫПОЛНЕНИЯ

Установка выполняется в последовательности, обратной снятию.


« предыдущая страница
13.2.3. Снятие и установка крышки под панелью приборов
^
к оглавлению
следующая страница »
13.2.5. Снятие и установка вещевого ящика

Copyright © 2026 Все права защищены. Все торговые марки являются собственностью их владельцев.