поиск в избранное карта сайта
  Opel РЕМОНТ ОБСЛУЖИВАНИЕ ЭКСПЛУАТАЦИЯ АВТОМОБИЛЕЙ
Опель Астра. Opel Astra H (с 2004 по 2006 год выпуска)

полные технические характеристики. диагностика. электросхемы
 
Главная
 
Opel
Astra H
1. Эксплуатация и техническое обслуживание автомобиля
2. Двигатель
2.1. Новый бензиновый двигатель Z 18 XER DOHC-I
2.2. Бензиновые двигатели – общие процедуры проверки
2.3. Снятие и установка силового агрегата
2.4. Механическая часть двигателя
2.5. Проверочные и ремонтные операции компонентов механической части двигателя
2.6. Система охлаждения
2.7. Система впрыска топлива бензиновых двигателей
2.7.1. Снятие и установка топливных форсунок
2.7.2. Замена топливопровода высокого давления (Насос высокого давления – напорная камера)
2.7.3. Модуль топливного насоса
2.7.4. Замена модуля дозировки
2.7.5. Замена регулятора давления топлива
2.7.6. Замена демпфирующего корпуса возврата топлива
2.7.7. Замена датчика уровня топлива
2.7.8. Топливный бак
2.7.9. Замена трубки заливной горловины топливного бака (бензиновые двигатели)
2.7.10. Система улавливания паров топлива
2.7.11. Замена передней вентиляционной трубки
2.7.12. Снятие и установка емкости с активированным углем
2.7.13. Снятие и установка датчика массового расхода воздуха
2.7.14. Замена датчика давления наддува (Z 20 LEH)
2.7.15. Снятие и установка корпуса термостата (двигатель 2,0 л)
2.7.16. Система выпуска (Z 14 XEP, Z 14 XEL, Z 16 XEP)
2.7.17. Система выпуска (Z18 XE)
2.7.18. Система выпуска (Z 20 LEL)
2.7.19. Замена холодильника рециркуляции отработавших газов (двигатель 2,0 л)
2.8. Система смазки
2.9. Таблицы
3. Трансмиссия
4. Ходовая часть
5. Рулевой механизм
6. Тормозная система
7. Бортовое электрооборудование
8. Кузов
9. Схемы электрооборудования
 


2.7.3. Модуль топливного насоса

В Astra-H используется объединенный модуль топливного насоса. Он используется и на бензиновых и на вариантах дизельных двигателях. Модуль топливного насоса включает все узлы, необходимые для контроля уровня и подачи топлива.
На бензиновых двигателях топливный фильтр установлен в модуле. На дизельных двигателях используется внешний топливный фильтр, который располагается в моторном отсеке. Модуль для дизельных двигателей также отличается тем, что предварительный топливный насос не используется для двигателей Z 17 DTL и Z 17 DTН.

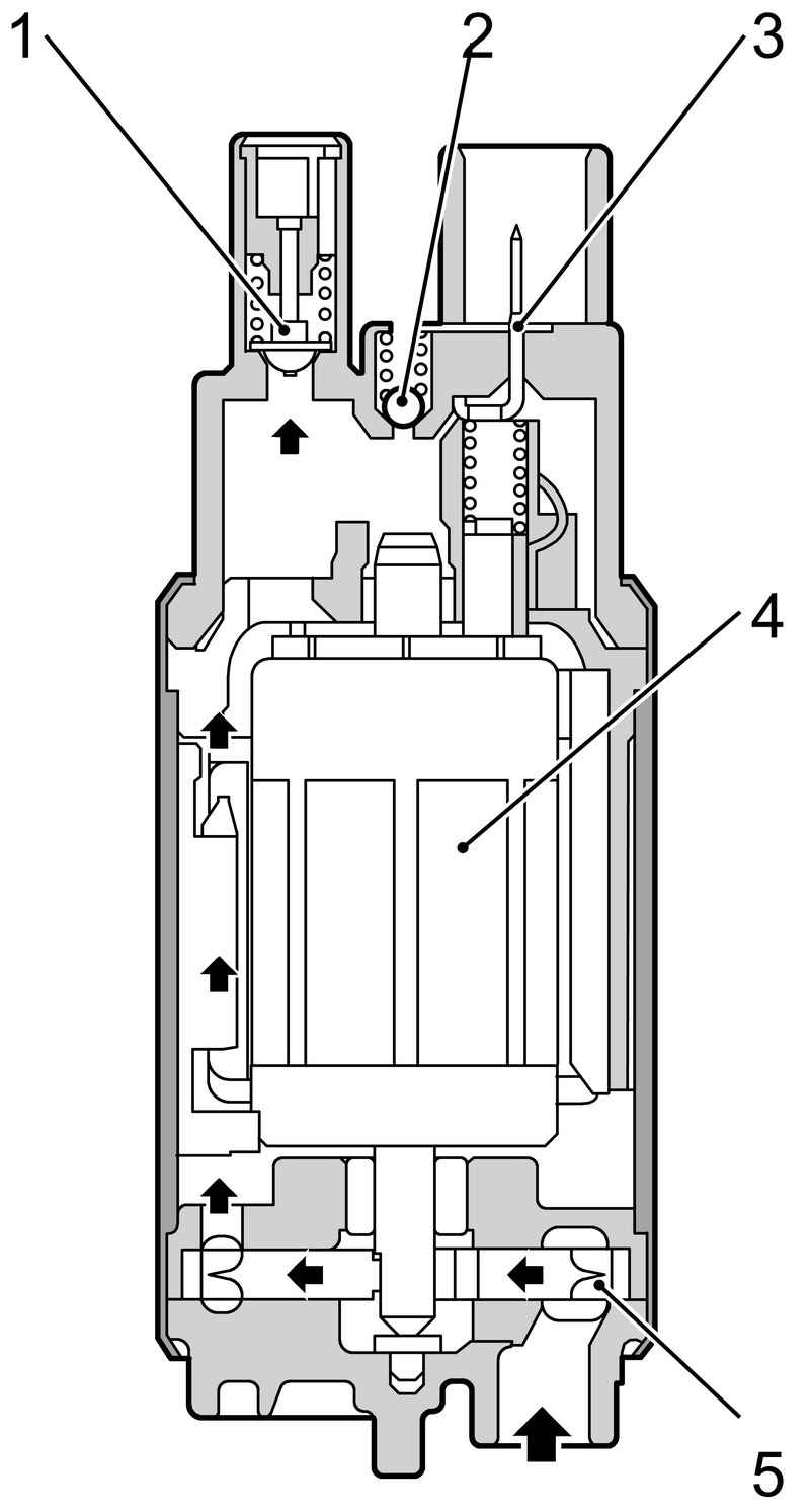
Конструкция модуля топливного насоса

Конструкция модуля топливного насоса
Рис. 2.273. Конструкция модуля топливного насоса: 1 – линия насоса предварительной подачи топлива; 2 – верхний корпус – модуль топливного насоса; 3 – ниже корпус – модуль топливного насоса; 4 – предфильтр; 5 – поплавок – уровень топлива


На схеме ниже показана примерная конструкция модуля топливного насоса. Модуль топливного насоса содержит узлы, которые не относятся ко всем комплектациям двигателя (рис. 2.273).

Топливный насос предварительной подачи топлива

Отверстие доступа к топливному насосу
Рис. 2.274. Отверстие доступа к топливному насосу


На Astra-H, доступ к модулю топливного насоса для технического обслуживания обеспечивается через отверстие располагающееся под задним сиденьем в панели пола. Подушка заднего сидения должна быть снята для получения доступа к отверстию (рис. 2.274).

Топливный насос предварительной подачи топлива (роликовый насос)

Конструкция роликового насоса
Рис. 2.275. Конструкция роликового насоса: 1 – обратный клапан; 2 – предохранительный клапан; 3 – подключение к электросети; 4 – электродвигатель; 5 – рабочее колесо


Топливный насос предварительной подачи топлива установлен в модуле топливного насоса. Задача топливного насоса предварительной подачи топлива состоит в том, чтобы подавать достаточное количество топлива при определенном давлении на впуск к двигателю при всех условиях работы. Он состоит из крышки с электрическими разъемами, обратного клапана и выходного штуцера. Крышка обычно также содержит угольные щетки, необходимые для работы электродвигателя и элемента подавления помех.

Требования к работе роликового насоса:
– расход от 60 до 200 л/ч;
– давление на впуске в топливной системе от 3,0 до 4,5 бар.

Специальный инструмент


Специальный инструмент
Рис. 2.276. Специальный инструмент


Использование специального инструмента
Рис. 2.277. Использование специального инструмента: 1 – специальный инструмент


Специальный инструмент требуется для снятия модуля топливного насоса. На рисунке 2.276 показано специальное приспособление КМ 6391. Четыре направляющие устанавливаются вертикально в существующие направляющие модуля топливного насоса для отделения модуля от кронштейнов и снятия в сборе (рис. 2.277).
Для лучшей наглядности модуль показан снятым с автомобиля.

« предыдущая страница
2.7.2. Замена топливопровода высокого давления (Насос высокого давления – напорная камера)
^
к оглавлению
следующая страница »
2.7.4. Замена модуля дозировки

Copyright © 2026 Все права защищены. Все торговые марки являются собственностью их владельцев.