|
|
 |
2.9.20.7. Ремонт водяного насоса
|
В случае неисправности
водяного насоса лучше всего заменить его целиком. Однако можно ограничиться
заменой уплотнения и вала с подшипником.
|
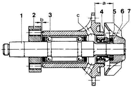
Поперечный разрез водяного насоса
|
|
|
|
|
- Закрепите водяной насос в отрезке металлической трубы, направляя
крыльчатку вверх; затем, пользуясь выколоткой из мягкого металла,
выпрессуйте вал через крыльчатку, а вал с подшипниками
через
корпус насоса. Снимите крыльчатку.
- Выпрессуйте скользящее кольцевое уплотнение при помощи выколотки,
направленной с внешнего конца насоса.
- Снимите центральное и прокладочное кольца с крыльчатки.
- Очистите корпус насоса и крыльчатку керосином и вытрите насухо.Имейте
в виду, что вал и подшипники вместе со ступицей вентилятора и
уплотнительными деталями должны обязательно заменяться новыми.
- Закрепите корпус насоса с крыльчаткой, направленной вниз, затем
поставьте оправку (отрезок металлической трубы) на внешнюю дорожку
качения подшипника и запрессуйте новый вал и подшипник так, чтобы
дорожка качения была вровень с концом копруса.
- Поставьте корпус насоса с крыльчаткой, направленной вверх,
и смажьте уплотнительной пастой гнездо кольцевого уплотнения
в корпусе.
- При помощи оправки (металлической трубки) запрессуйте кольцевое
уплотнение под прямым углом в корпус.
- Поставьте новое прокладочное кольцо на упорное кольцо. Затем
смажьте прокладочное кольцо пастой для тормозного цилиндра и
запрессуйте кольцо в крыльчатку скошенной стороной вперед.
- Очистите вал, гнездо в крыльчатке и уплотнительные поверхности, затем поставьте
вал на опору и напрессуйте крыльчатку вровень с концом вала. Проверьте
размер «а» (см. иллюстрацию Поперечный
разрез водяного насоса).
- Нагрейте новую ступицу вентилятора до синего цвета (примерно
до 300°С). Очистите вал и при помощи двухмиллиметровой металлической
проставки установите ступицу. Поставьте ступицу на оправку (металлическую
трубку), вставьте вал и запрессуйте его до регулировочной прокладки.
Подождите, пока ступица плотно охватит вал, затем окуните ее
в поду и удалите проставку.
|
|
|
|